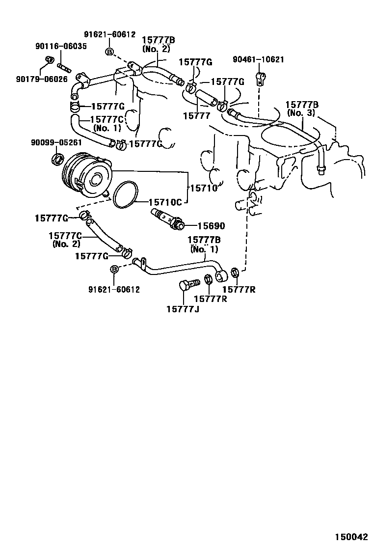
ENGINE OIL COOLER

15690VALVE ASSY, OIL COOLER RELIEF
15710COOLER ASSY, OIL
15710CGASKET(FOR OIL COOLER)
15777HOSE, OIL COOLER
15777BPIPE, OIL COOLER
15777GCLAMP OR CRIP, HOSE
sub96134-41900
15777JBOLT, UNION(FOR OIL COOLER PIPE)
15777RGASKET(FOR OIL COOLER PIPE UNION BOLT)
9009905261
main90099-05261
9011606035
main90116-06035
9017906026
main90179-06026
9046110621
main90461-10621
9162160612
main91621-60612
14 parts on this diagram · 1 diagram in section