E
EPC Data

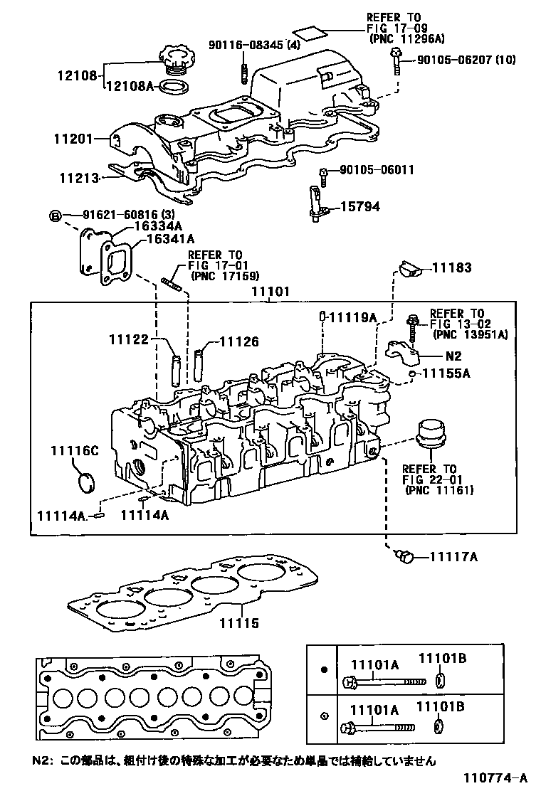
CYLINDER HEAD

Parts diagram
11101HEAD SUB-ASSY, CYLINDER
main11101-64310i199709-199903
main11101-64390i199903
main11101-79156i199605
11101ABOLT(FOR CYLINDER HEAD SET)
main90109-10132×10i199605
main90910-02130×10i199709
main90910-02131×8i199709
11101BWASHER, PLATE(FOR CYLINDER HEAD SET)
main90201-11026×10i199605
main90201-12222×18i199709
11114APIN, STRAIGHT
main90250-06068×3i199709
11115GASKET, CYLINDER HEAD
main11115-64180-A0i199709-199808
MARK 1
main11115-64180-B0i199709-199808
MARK 2
main11115-64180-C0i199709-199808
MARK 3
main11115-64181-01i199808-199903
MARK 1
main11115-64181-02i199808-199903
MARK 2
main11115-64181-03i199808-199903
MARK 3
main11115-64200-01i199903
MARK 1
main11115-64200-02i199903
MARK 2
main11115-64200-03i199903
MARK 3
main11115-74110i199605
11116CPLUG, TIGHT, NO.3
main96411-63000i199709
11117APLUG, W/HEAD TAPER SCREW, NO.1
main90344-53011i199605
main90345-53007i199709
11119APIN, STRAIGHT, NO.1
main90250-06003i199605
main90250-06013×2i199709
11122BUSH, INTAKE VALVE GUIDE
main11122-64010×4i199709
main11122-74030×8i199605
main11123-64010×4i199709
main11123-74030×8i199605
11126BUSH, EXHAUST VALVE GUIDE
main11122-16010×8i199605
main11123-16010×8i199605
main11126-64030×4i199709
main11127-64030×4i199709
11155APIN, RING W/HEAD
main90253-10004×6i199605
main90253-11021×10i199709-200105
11183PLUG, SEMICIRCULAR
main11183-64010i199709
main11183-74010×2i199605
11201COVER SUB-ASSY, CYLINDER HEAD
main11201-64141i199709-199907
main11201-64200i199907
main11201-74070i199605-199901
main11201-74071i199901
11213GASKET, CYLINDER HEAD COVER
main11213-64061i199709
main11213-74020i199605
12108CAP SUB-ASSY, OIL FILLER
main12180-55010i199605
12108AGASKET(FOR OIL FILLER CAP)
main90430-37140i199605
1302
15794NOZZLE, CYLINDER HEAD OIL
main15794-64011i199709
16334ACOVER, WATER OUTLET HOUSING
main16334-64010i199709
16341AGASKET, WATER OUTLET
main16341-64021i199709
1701
1709
2201
9010506011
9010506207
9011608345
9162160816

27 parts on this diagram · 2 diagrams in section

CYLINDER HEAD — Toyota Parts Diagram with OEM Numbers & Prices | EPC Data