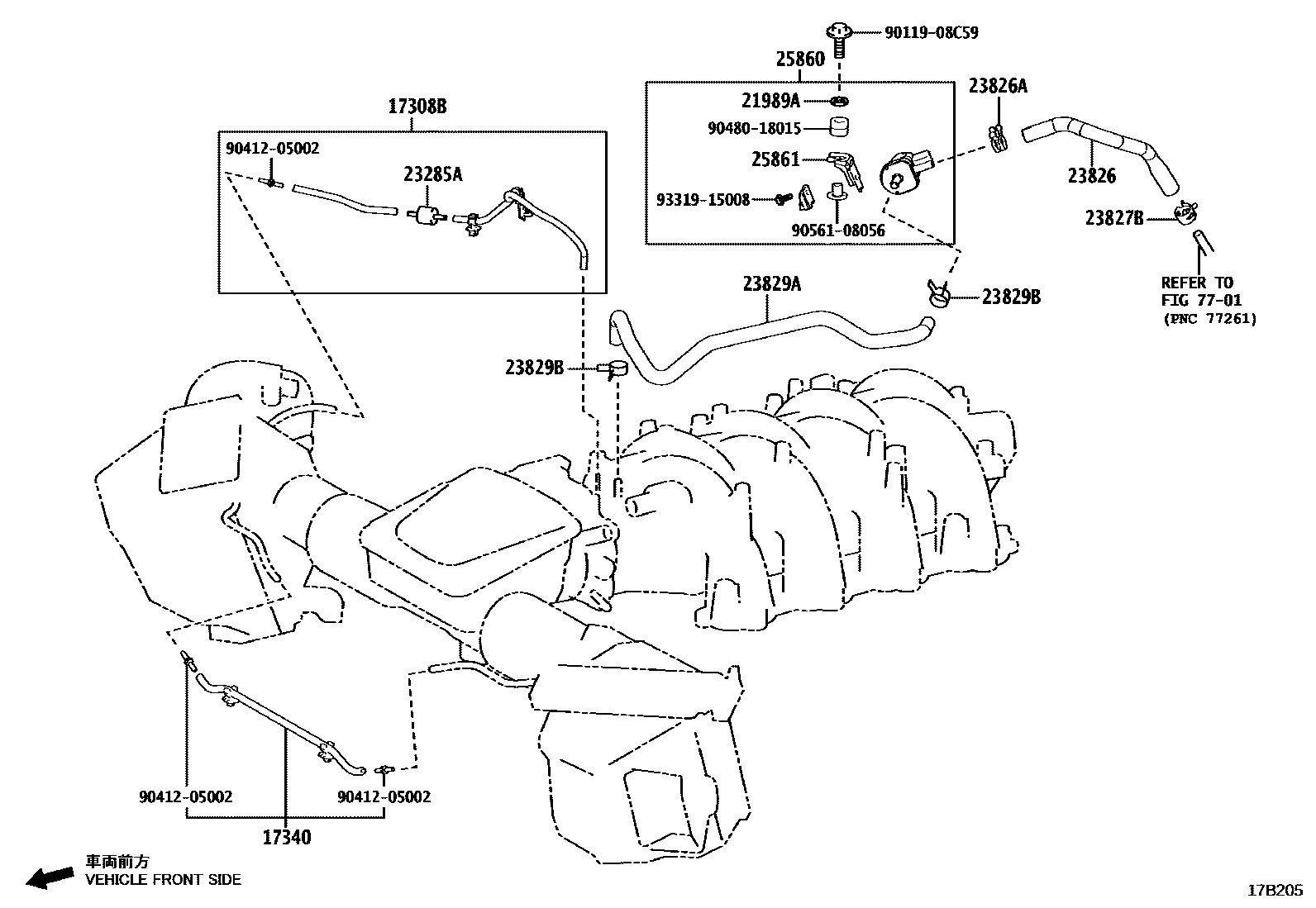
VACUUM PIPING

17308BHOSE SUB-ASSY, VACUUM
17340HOSE ASSY, VACUUM SWITCHING VALVE
21989AINSULATOR, PLATE
23285AVALVE, CHECK, NO.1
23826HOSE, FUEL VAPOR FEED, NO.1
23826ACLIP(FOR FUEL VAPOR FEED HOSE, NO.1)
23827BCLIP(FOR FUEL VAPOR FEED HOSE, NO.2)
23829AHOSE, FUEL VAPOR FEED
23829BCLIP(FOR FUEL VAPOR FEED HOSE)
25860VALVE ASSY, VACUUM SWITCHING, NO.1
25861BRACKET, VACUUM SWITCHING VALVE
7701FUEL TANK & TUBE
9011908C59
main90119-08C59
9041205002
main90412-05002
9048018015
main90480-18015
9056108056
main90561-08056
9331915008
main93319-15008
17 parts on this diagram · 1 diagram in section