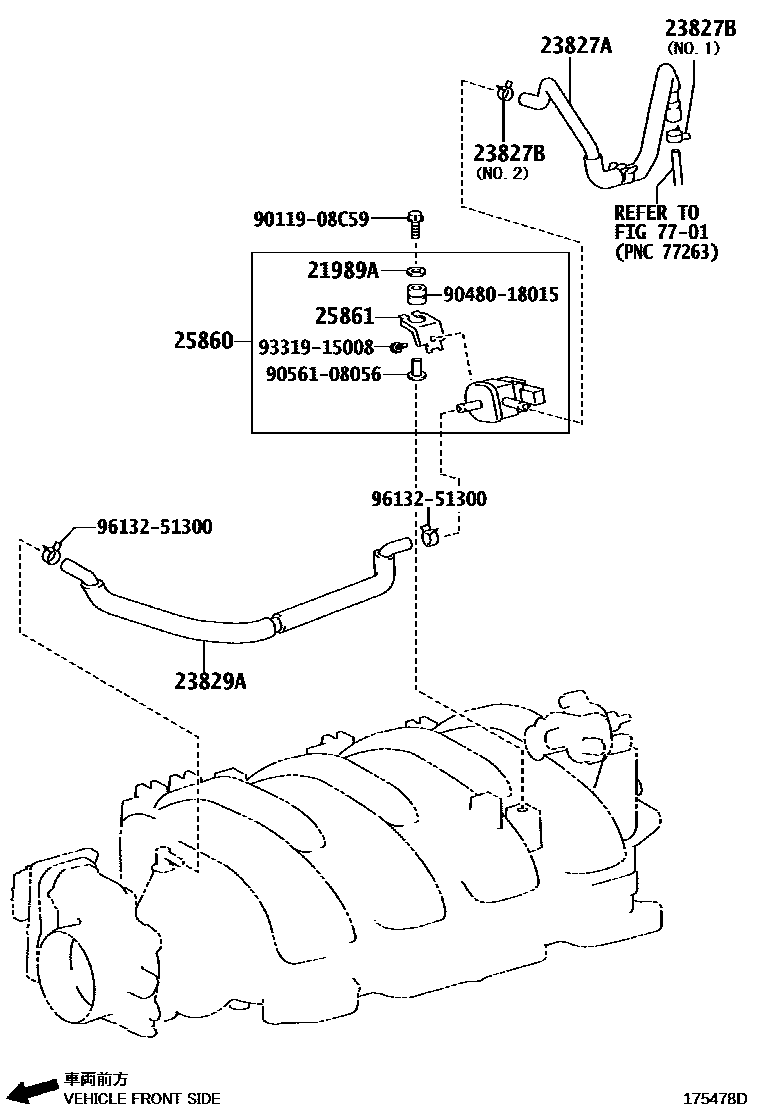
VACUUM PIPING

21989AINSULATOR, PLATE
23827AHOSE, FUEL VAPOR FEED, NO.2
23827BCLIP(FOR FUEL VAPOR FEED HOSE, NO.2)
23829AHOSE, FUEL VAPOR FEED
25860VALVE ASSY, VACUUM SWITCHING, NO.1
25861BRACKET, VACUUM SWITCHING VALVE
7701FUEL TANK & TUBE
9011908C59
main90119-08C59
9048018015
main90480-18015
9056108056
main90561-08056
9331915008
main93319-15008
9613251300
main96132-51300
12 parts on this diagram · 1 diagram in section