E
EPC Data

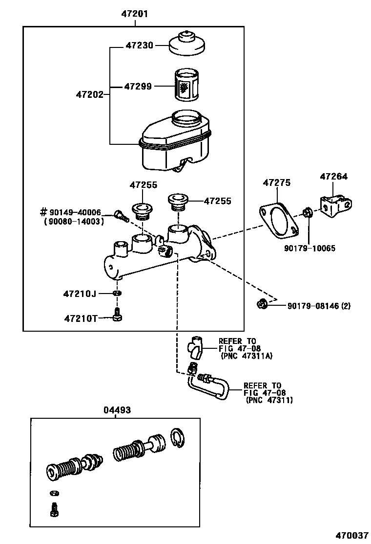
BRAKE MASTER CYLINDER

Parts diagram
04493CYLINDER KIT, BRAKE MASTER
main04493-33020i199503-199510
main04493-33060i199510-199608
main04493-33070i199608
4708
47201CYLINDER SUB-ASSY, BRAKE MASTER
main47201-07020i199503-199608
main47201-33100i199608
47202RESERVOIR SUB-ASSY, BRAKE MASTER CYLINDER
main47220-06011i199503-199608
main47220-33011i199608
47210JGASKET(FOR MASTER CYLINDER)
main90430-06104i199503-199608
47210TBOLT(FOR BRAKE MASTER CYLINDER)
main90109-06077i199503-199608
47230CAP ASSY, BRAKE MASTER CYLINDER RESERVOIR FILLER
main47230-12040i199503
47255GROMMET, MASTER CYLINDER RESERVOIR
main47255-03010i199503-199608
main47255-16010i199608
47264CLEVIS, MASTER CYLINDER PUSH ROD
main47264-33010i199503
47275GASKET, BRAKE MASTER CYLINDER
main47275-12020i199503
47299STRAINER, BRAKE MASTER CYLINDER RESERVOIR
main47299-24010i199503
9008014003
9014940006
9017908146
9017910065

15 parts on this diagram · 2 diagrams in section

BRAKE MASTER CYLINDER — Toyota Parts Diagram with OEM Numbers & Prices | EPC Data