E
EPC Data

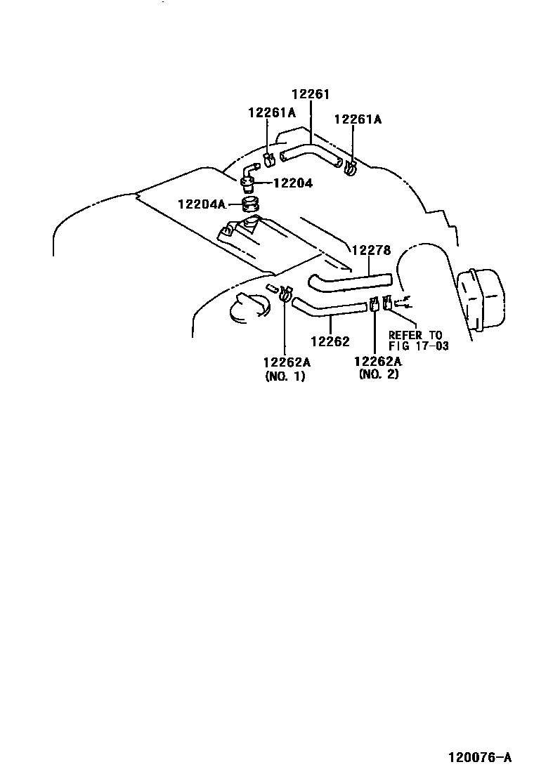
VENTILATION HOSE

Parts diagram
12204VALVE SUB-ASSY, VENTILATION
main12204-20010i199503
12204AGROMMET(FOR VENTILATION SYSTEM)
main90480-18001i199503
12261HOSE, VENTILATION
main12261-20010i199503-199708
main12261-20011i199708
12261ACLIP OR CLAMP(FOR VENTILATION HOSE)
main90467-14017i199503
12262HOSE, VENTILATION, NO.2
main12262-0A010i199608-199801
main12262-0A040i199801
main12262-20010i199503-199608
12262ACLIP(FOR VENTILATION HOSE NO.2)
main90467-17011i199801
main90467-17011i199503-199801
main90467-19022i199801-199805
main96134-41900i199805
12278INSULATOR, VENTILATION HOSE HEAT
main12278-0A020i199801
1703

8 parts on this diagram · 1 diagram in section

VENTILATION HOSE — Toyota Parts Diagram with OEM Numbers & Prices | EPC Data