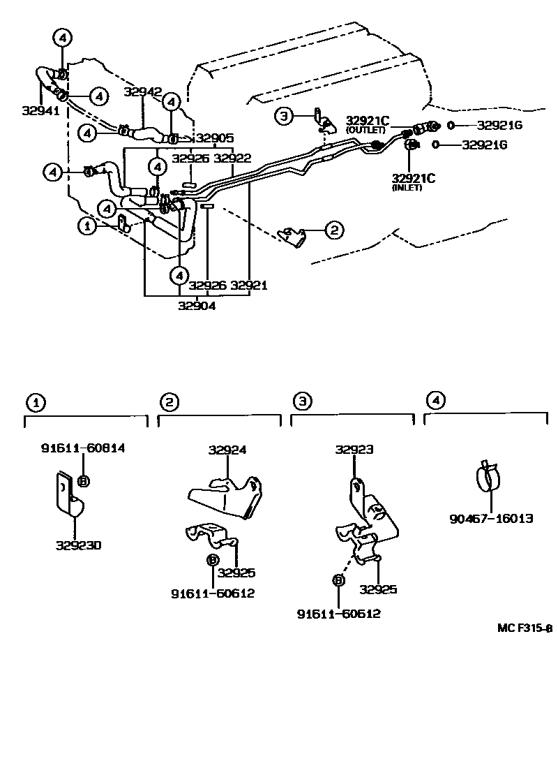
OIL COOLER & TUBE (ATM)

32904TUBE SUB-ASSY, OIL COOLER INLET, NO.1
32905TUBE SUB-ASSY, OIL COOLER OUTLET, NO.1
32921TUBE, OIL COOLER INLET, NO.1
32921CUNION(FOR OIL COOLER TUBE)
INLET
INLET
OUTLET
32921GRING, O(FOR OIL COOLER TUBE UNION)
32922TUBE, OIL COOLER OUTLET, NO.1
32923CLAMP, AUTOMATIC TRANSMISSION OIL COOLER TUBE
32923DCLAMP, AUTOMATIC TRANSMISSION OIL COOLER TUBE, NO.5
32924CLAMP, OIL COOLER TUBE, NO.2
32925CLAMP, OIL COOLER TUBE, NO.3
32926CUSHION, OIL COOLER TUBE(ATM)
32942HOSE, OIL COOLER OUTLET, NO.1
9046716013
main90467-16013
9161160612
main91611-60612
9161160814
main91611-60814
16 parts on this diagram · 1 diagram in section