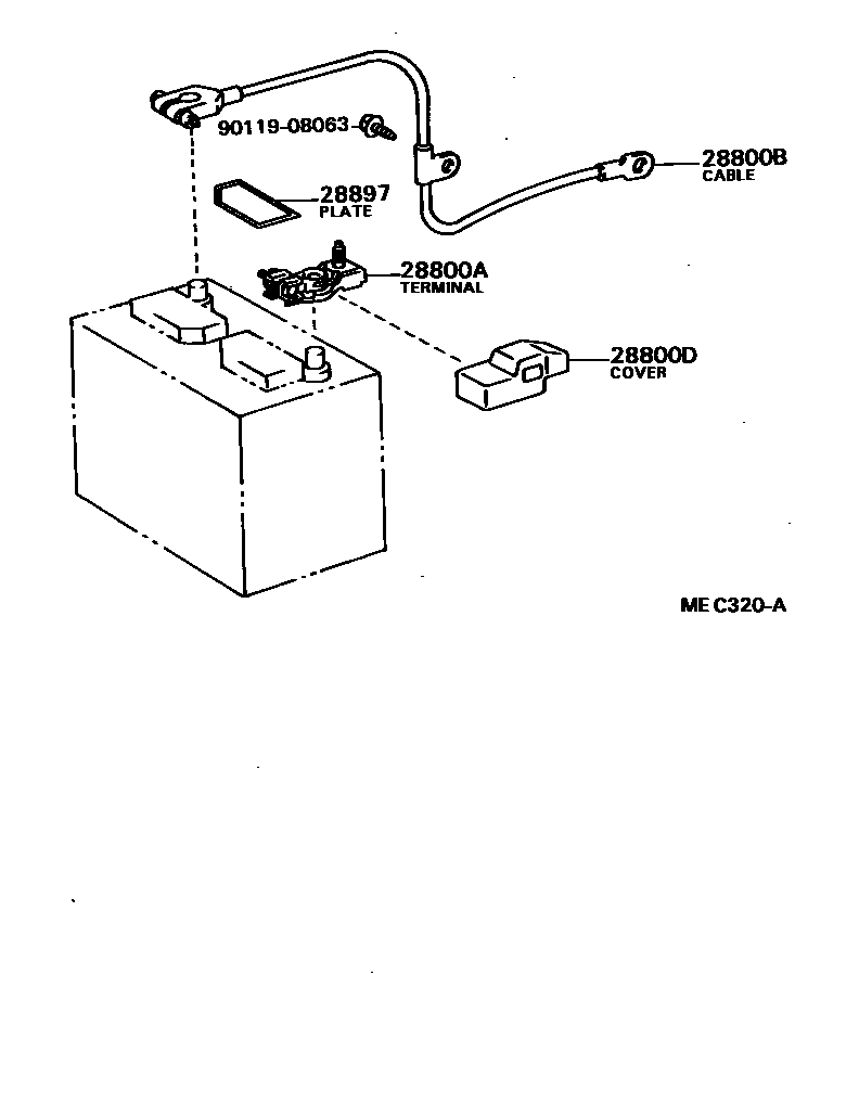
BATTERY & BATTERY CABLE

28800ATERMINAL, BATTERY POSITIVE
28800BCABLE, BATTERY TO GROUND
28800DCOVER, CONNECTOR(FOR BATTERY TERMINAL)
28897PLATE, BATTERY CAUTION
55D23R
9011908063
main90119-08063
5 parts on this diagram · 1 diagram in section

5 parts on this diagram · 1 diagram in section