E
EPC Data

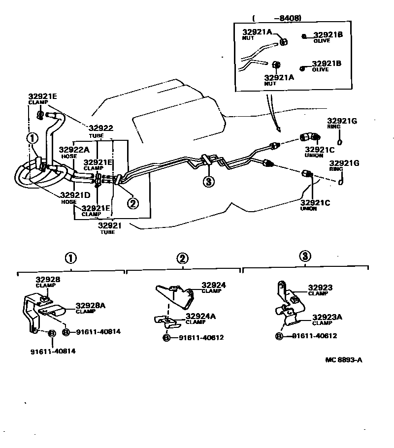
OIL COOLER & TUBE (ATM)

Parts diagram
32921TUBE, OIL COOLER INLET, NO.1
main32904-40010i198210-198408
main32904-40020i198408-198709
32921ANUT, UNION(FOR OIL COOLER TUBE)
main90402-13041×2i198210-198408
32921BOLIVE(FOR OIL COOLER TUBE)
main96395-71400×2i198210-198408
32921CUNION(FOR OIL COOLER TUBE)
main90404-13003i198210-198408
INLET
main90404-16021i198408-198709
INLET
main90407-13005i198210-198408
OUTLET
main90407-16010i198408-198709
OUTLET
32921DHOSE(FOR OIL COOLER INLET)
main32941-40020i198210-198709
32921ECLAMP, HOSE(FOR OIL COOLER)
main90460-14085×4i198210-198709
32921GRING, O(FOR OIL COOLER TUBE UNION)
main90301-10189×2i198210-198709
32922TUBE, OIL COOLER OUTLET, NO.1
main32905-40010i198210-198408
main32905-40020i198408-198709
32922AHOSE(FOR OIL COOLER OUTLET)
main32942-40020i198210-198709
32923CLAMP, AUTOMATIC TRANSMISSION OIL COOLER TUBE
main32923-40021i198210-198408
main32923-40030i198408-198709
32923ACLAMP, AUTOMATIC TRANSMISSION OIL COOLER TUBE
main90462-12047i198408-198709
main90462-12085i198210-198408
32924CLAMP, OIL COOLER TUBE, NO.2
main32924-40010i198210-198408
main32924-40020i198408-198709
32924ACLAMP(FOR OIL COOLER TUBE, NO.2)
main90462-12047i198408-198709
main90462-12085i198210-198408
32928CLAMP, FLEXIBLE HOSE, NO.1
main32928-40030i198210-198709
32928ACLAMP(FOR FLEXIBLE HOSE CLAMP)
main90949-01043i198210-198709
9161140612
9161140814

17 parts on this diagram · 1 diagram in section

OIL COOLER & TUBE (ATM) — Toyota Parts Diagram with OEM Numbers & Prices | EPC Data