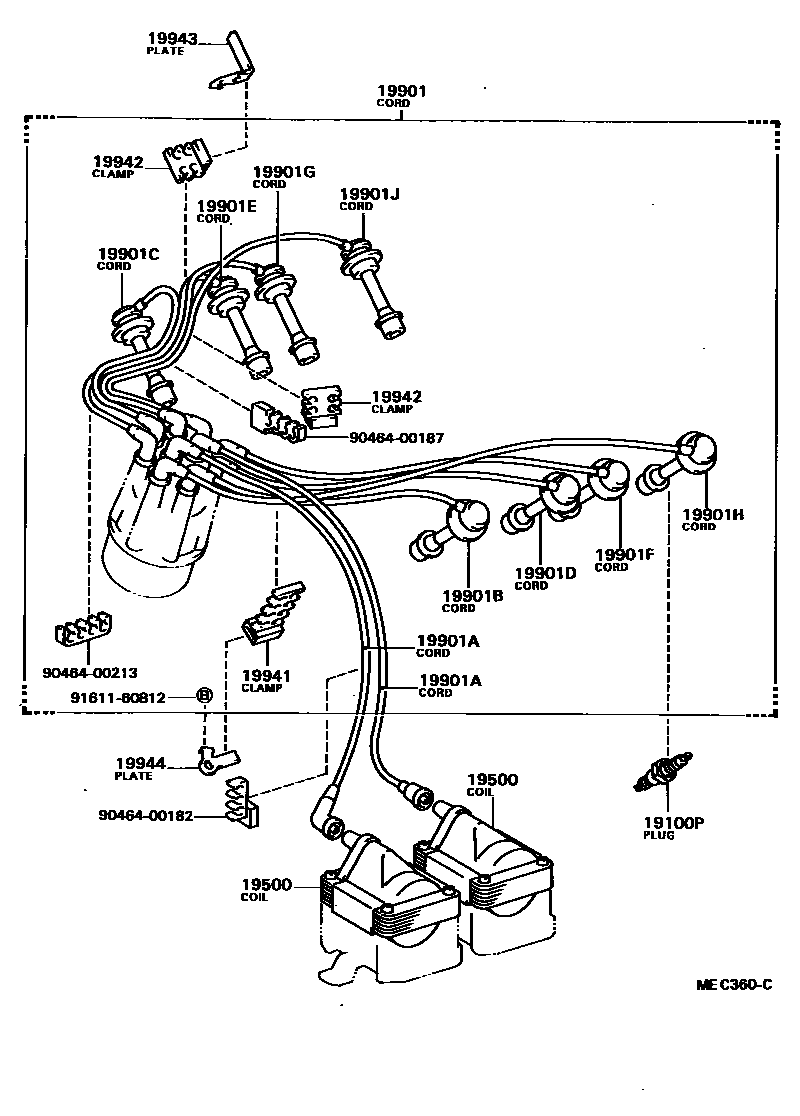
IGNITION COIL & SPARK PLUG / GLOW PLUG

19500COIL ASSY, IGNITION
19901CORD SET, COIL & SPARK, W/RESISTIVE
19901ACORD, COIL RESISTIVE
FR
RR
19901BCORD, SPARK PLUG RESISTIVE, NO.1
19901CCORD, SPARK PLUG RESISTIVE, NO.2
19901DCORD, SPARK PLUG RESISTIVE, NO.3
19901ECORD, SPARK PLUG RESISTIVE, NO.4
19901FCORD, SPARK PLUG RESISTIVE, NO.5
19901GCORD, SPARK PLUG RESISTIVE, NO.6
19901HCORD, SPARK PLUG RESISTIVE, NO.7
19901JCORD, SPARK PLUG RESISTIVE, NO.8
19941CLAMP, RESISTIVE CORD, NO.1
19942CLAMP, RESISTIVE CORD, NO.2
19943PLATE, RESISTIVE CORD CLAMP SUPPORT NO.1
19944PLATE, RESISTIVE CORD CLAMP SUPPORT, NO.2
9046400182
main90464-00182
9046400187
main90464-00187
9046400213
main90464-00213
9161160812
main91611-60812
20 parts on this diagram · 1 diagram in section