E
EPC Data

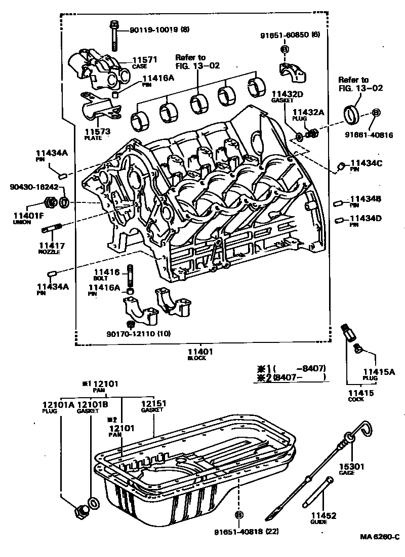
CYLINDER BLOCK

Parts diagram
11401BLOCK SUB-ASSY, CYLINDER
main11401-52020i198210-198709
11401FUNION(FOR OIL PRESSURE SWITCH)
main90404-16205i198210-198709
11415COCK SUB-ASSY, WATER DRAIN(FOR CYLINDER BLOCK)
main96432-03833×2i198210-198507
main96432-53828×2i198507-198709
11415APLUG, WATER DRAIN COCK(FOR CYLINDER BLOCK)
main96431-23814×2i198210-198507
main96432-23814×2i198507-198709
11416BOLT(FOR CRANKSHAFT BEARING CAP SET)
main90116-12138×10i198210-198709
L=110.7,S=33&16
11416APIN, RING(FOR CRANKSHAFT BEARING CAP SET)
main90253-13008×8i198210-198709
L=13,OD=12.5
main90253-16014×10i198210-198709
L=10,OD=15.5
11417NOZZLE, OIL
main90915-01010i198210-198709
11432APLUG, W/HEAD TAPER SCREW, NO.1
main90341-14032i198210-198709
L=9.5,OD=14
11432DGASKET, W/HEAD TAPER SCREW PLUG
main90430-14235i198210-198709
11434APIN, STRAIGHT(FOR TIMING GEAR COVER SET)
main90250-10113×2i198210-198709
11434BPIN, STRAIGHT(FOR CLUTCH HOUSING SET)
main90250-10113×2i198210-198709
11434CPIN, STRAIGHT (FOR CYLINDER HEAD SET)
main90253-16014×4i198210-198709
11434DPIN, STRAIGHT(FOR ENGINE REAR OIL SEAL)
main90250-10113×2i198210-198709
11452GUIDE, OIL LEVEL GAGE
main11452-41010i198210-198709
11571CASE, VALVE LIFTER
main11571-51011×4i198210-198709
11573PLATE, OIL REFLECTOR
main11573-51010×4i198210-198709
12101PAN SUB-ASSY, OIL
main12101-52021i198407-198709
main12101-59185i198210-198407
12101APLUG(FOR OIL PAN DRAIN)
main90341-12012i198407-198709
main90341-18089i198210-198407
12101BGASKET(FOR OIL PAN DRAIN PLUG)
main90430-12011i198407-198709
main90430-18244i198210-198407
12151GASKET, OIL PAN
main12151-51010i198210-198709
1302CAMSHAFT & VALVE
15301GAGE SUB-ASSY, OIL LEVEL
main15301-52010i198210-198709
9011910019
9017012110
9043016242
9165140818
9165160850
9166140816

28 parts on this diagram · 1 diagram in section

CYLINDER BLOCK — Toyota Parts Diagram with OEM Numbers & Prices | EPC Data