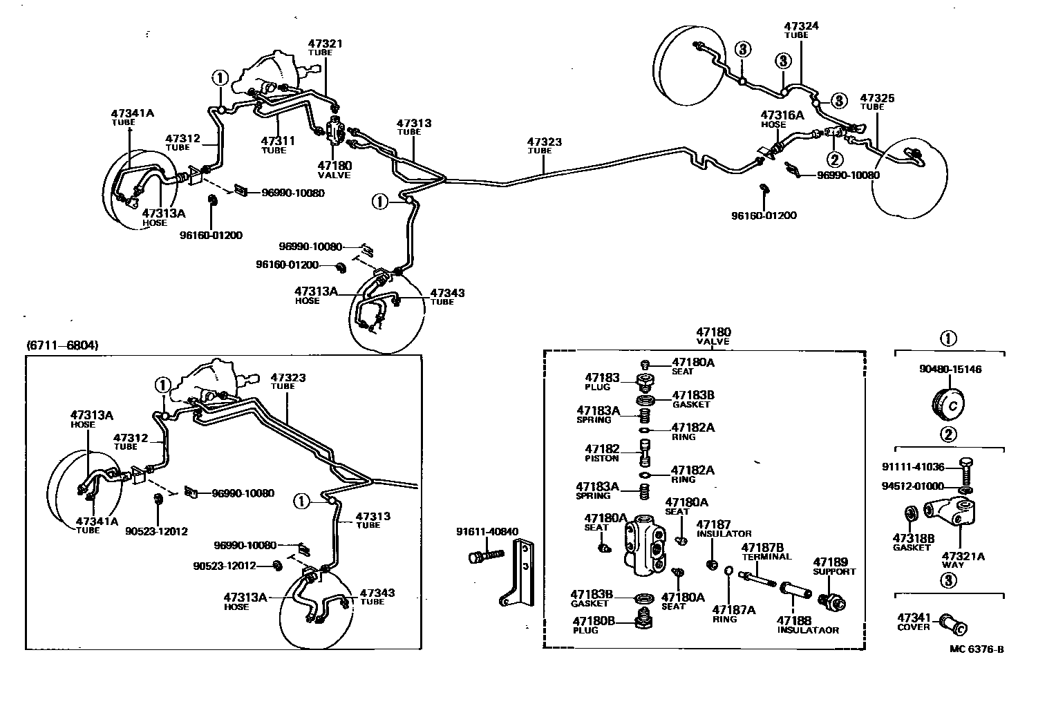
BRAKE TUBE & CLAMP

47180VALVE,ASSY, BRRKE PRESSURE DIFFERENTIAL
47180ASEAT, UNION(FOR BRAKE DIFFERENTIAL VALVE)
47180BPLUG, SCREW(FOR BRAKE PRESSURE DIFFERENTIAL VALVE)
47182PISTON, WARNING SWITCH
47182ARING, O(FOR WARNING SWITCH PISTON)
47183PLUG, WARNING SWITCH BODY
47183ASPRING, COMPRESSION(FOR WARNING SWITCH BODY)
47183BGASKET(FOR WARNING SWITCH BODY)
47187INSULATOR, WARNING SWITCH TERMINAL
47187ARING, O(FOR WARNING SWITCH TERMINAL)
47187BTERMINAL(FOR BRAKE WARNING SWITCH)
47188INSULATOR, WARNING SWITCH TERMINAL
47189SUPPORT, WARNING SWITCH TERMINAL
47311TUBE, FRONT BRAKE, NO.1
47312TUBE, FRONT BRAKE, NO.2
47313TUBE, FRONT BRAKE, NO.3
47313AHOSE, FLEXIBLE, NO.1(FOR FRONT)
47316AHOSE, FLEXIBLE(FOR REAR BRAKE TUBE)
47318BGASKET(FOR REAR RH BRAKE TUBE)
47321TUBE, REAR BRAKE, NO.1
47323TUBE, REAR BRAKE, NO.3
47324TUBE, REAR BRAKE, NO.4
47325TUBE, REAR BRAKE, NO.5
47341COVER, TUBE
47341ATUBE, WHEEL CYLINDER, FRONT RH
47343TUBE, WHEEL CYLINDER, FRONT LH
9048015146
main90480-15146
9052312012
main90523-12012
9111141036
main91111-41036
9161140840
main91611-40840
9451201000
main94512-01000
9616001200
main96160-01200
9699010080
main96990-10080
34 parts on this diagram · 2 diagrams in section