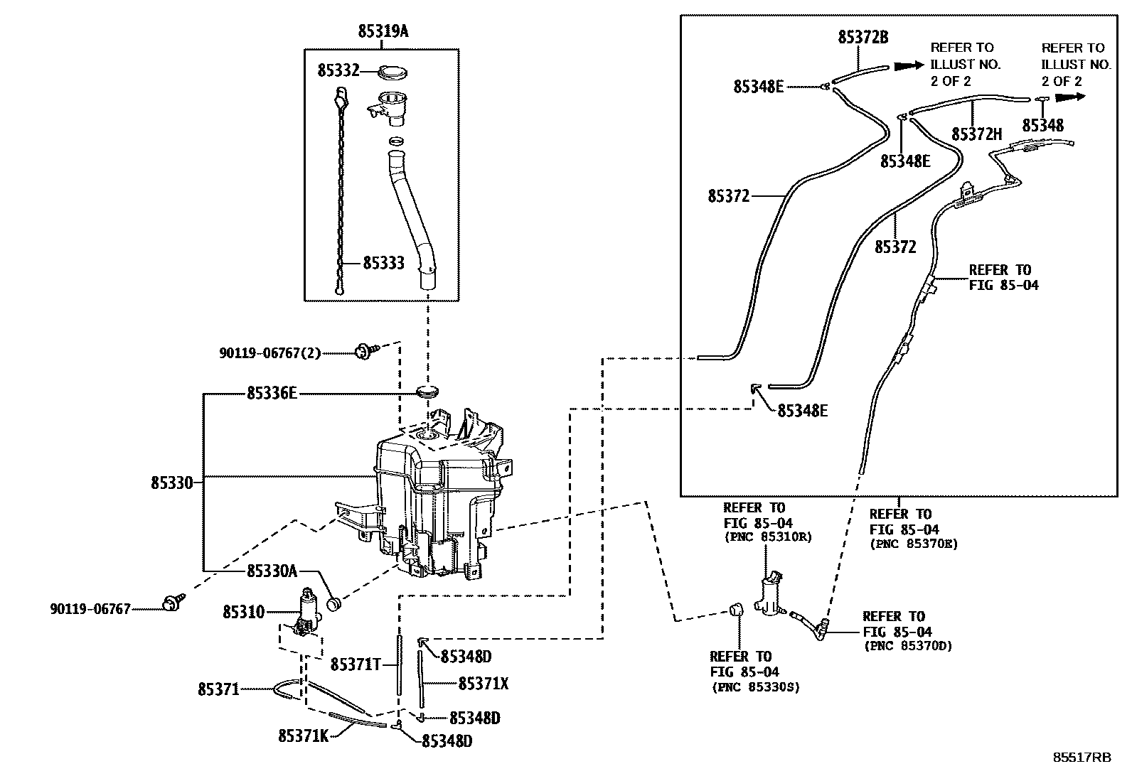
WINDSHIELD WASHER

8504REAR WASHER
85310MOTOR AND PUMP ASSY, WINDSHIELD WASHER
85319AHOSE, INLET
85330JAR ASSY, WINDSHIELD WASHER
85330ABUSH, WINDSHIELD WASHER JAR
85332CAP, WINDSHIELD WASHER JAR
85333FILTER, WINDSHIELD WASHER JAR
85336EPACKING, WINDSHIELD WASHER INLET HOSE
85348JOINT, WINDSHIELD WASHER HOSE, NO.1
85348DJOINT, WINDSHIELD WASHER ELBOW, NO.1
85348EJOINT, WINDSHIELD WASHER ELBOW, NO.2
85371HOSE, WINDSHIELD WASHER (FROM MOTOR TO JOINT)
85371KHOSE, WINDSHIELD WASHER (FROM MOTOR TO JOINT)
85371THOSE, WINDSHIELD WASHER (FROM JOINT TO JOINT)
85371XHOSE, WINDSHIELD WASHER(FROM JOINT TO TOINT)
85372HOSE, WINDSHIELD WASHER (FROM JOINT TO JOINT), NO.1
85372BHOSE, WINDSHIELD WASHER (FROM JOINT TO JOINT), NO.2
85372HHOSE, WINDSHIELD WASHER (FROM JOINT TO JOINT), NO.3
9011906767
main90119-06767
19 parts on this diagram · 2 diagrams in section