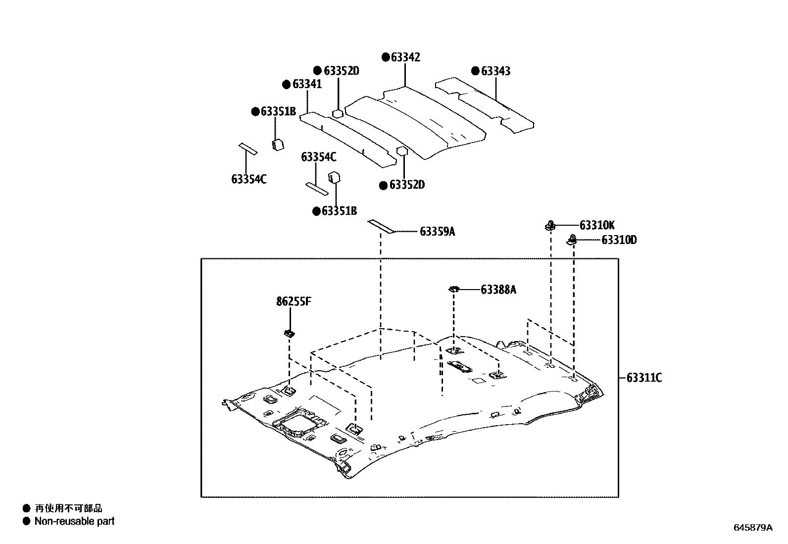
ROOF HEADLINING & SILENCER PAD

63310DCLIP, ROOF HEADLINING
63310KCLIP
63311CHEADLINING, ROOF
BLACK,TRIM2#,4#
63341PAD, ROOF SILENCER, NO.1
63342PAD, ROOF SILENCER, NO.2
63343PAD, ROOF SILENCER, NO.3
63351BPAD, ROOF HEADLINING
63352DPAD, ROOF HEADLINING, NO.2
63354CPAD, ROOF HEADLINING FRONT SIDE
63359APAD, ROOF SILENCER, NO.18
63388ACOVER, ROOF HEADLINING HOLDER
BLACK,TRIM2#,4#
86255FCASE, MICROPHONE
BLACK,TRIM2#,4#
12 parts on this diagram · 3 diagrams in section