E
EPC Data

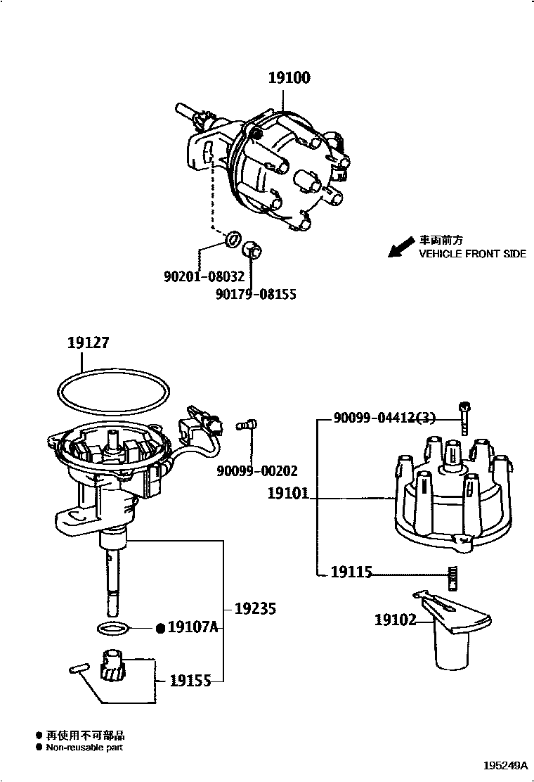
DISTRIBUTOR

Parts diagram
19100DISTRIBUTOR ASSY
main19040-73052i200108
main19100-70240i200110-200210
main19100-74100i199604-200108
19101CAP SUB-ASSY, DISTRIBUTOR
main19101-70020i199512-200102
main19101-73030i199512-200108
main19101-74190i199604-200108
19102ROTOR SUB-ASSY, DISTRIBUTOR
main19102-11031i199604-200108
main19102-16040i199512-199805
main19102-43110i199512-200102
main19102-73180i200108
19107ARING, O, DISTRIBUTOR HOUSING
main90099-14088i199512-200102
main90099-14090i200108
main90099-14127i199604-200108
19115PIECE, DISTRIBUTOR CAP, CENTER
main19115-72010×2i200108
main19115-88280i200110-200210
19127PACKING, DUST PROOF
main19127-61240i199512-200102
main19127-63010i199512-200108
main19127-63020i199512-200108
main19127-74010i199604-200108
main19127-74040i199604-200108
19155GEAR, SPIRAL, DISTRIBUTOR
main19195-72090i199512-200108
main19195-88300i199512-200102
19235HOUSING, DISTRIBUTOR
main19235-70240i200110-200210
main19235-73180i199512-200108
main19235-74190i199604-200108
9009900202
9009904412
9017908155
9020108032

12 parts on this diagram · 3 diagrams in section

DISTRIBUTOR — Toyota Parts Diagram with OEM Numbers & Prices | EPC Data