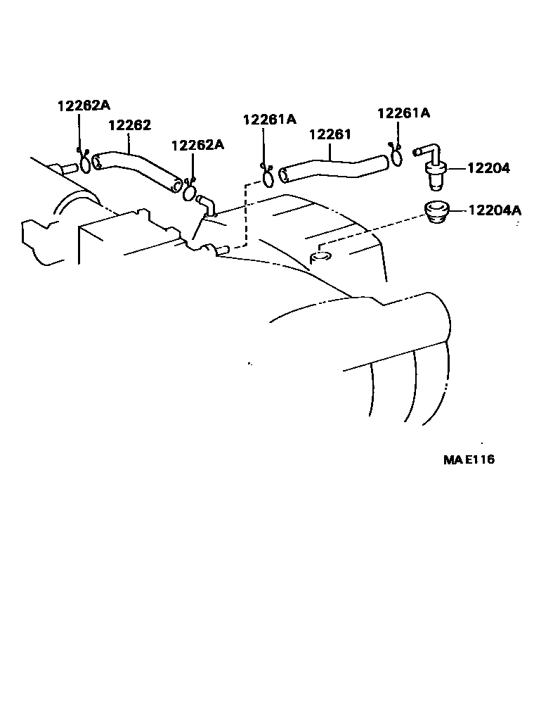
VENTILATION HOSE

12204VALVE SUB-ASSY, VENTILATION
12204AGROMMET(FOR VENTILATION SYSTEM)
12261ACLIP OR CLAMP(FOR VENTILATION HOSE)
12262HOSE, VENTILATION, NO.2
6 parts on this diagram · 3 diagrams in section

6 parts on this diagram · 3 diagrams in section