E
EPC Data

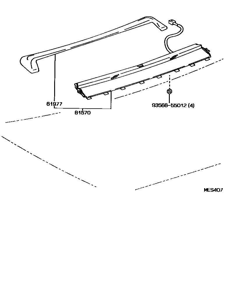
CENTER STOP LAMP

Parts diagram
81570LAMP ASSY, CENTER STOP
main81570-30050-B0i199110-199508
SHADOW GRAY,TRIM1#
main81570-30050-E0i199110-199508
QUARTZ,TRIM4#
main81570-30050-J0i199408-199508
DK.BLUE,TRIM8#
main81570-30070-B0i199110-199508
SHADOW GRAY,TRIM1#
main81570-30070-E0i199110-199210
QUARTZ,TRIM4#
main81570-30070-J0i199110-199508
DK.BLUE,TRIM8#
81977COVER, CENTER STOP LAMP
main81977-30050-B0i199110-199508
SHADOW GRAY,TRIM1#
main81977-30050-E0i199110-199508
QUARTZ,TRIM4#
main81977-30050-J0i199110-199408
DK.BLUE,TRIM8#
main81977-30070-B0i199110-199508
SHADOW GRAY,TRIM1#
main81977-30070-E0i199210-199308
QUARTZ,TRIM4#
main81977-30070-J0i199110-199508
DK.BLUE,TRIM8#
9356855012

3 parts on this diagram · 1 diagram in section

CENTER STOP LAMP — Toyota Parts Diagram with OEM Numbers & Prices | EPC Data