E
EPC Data

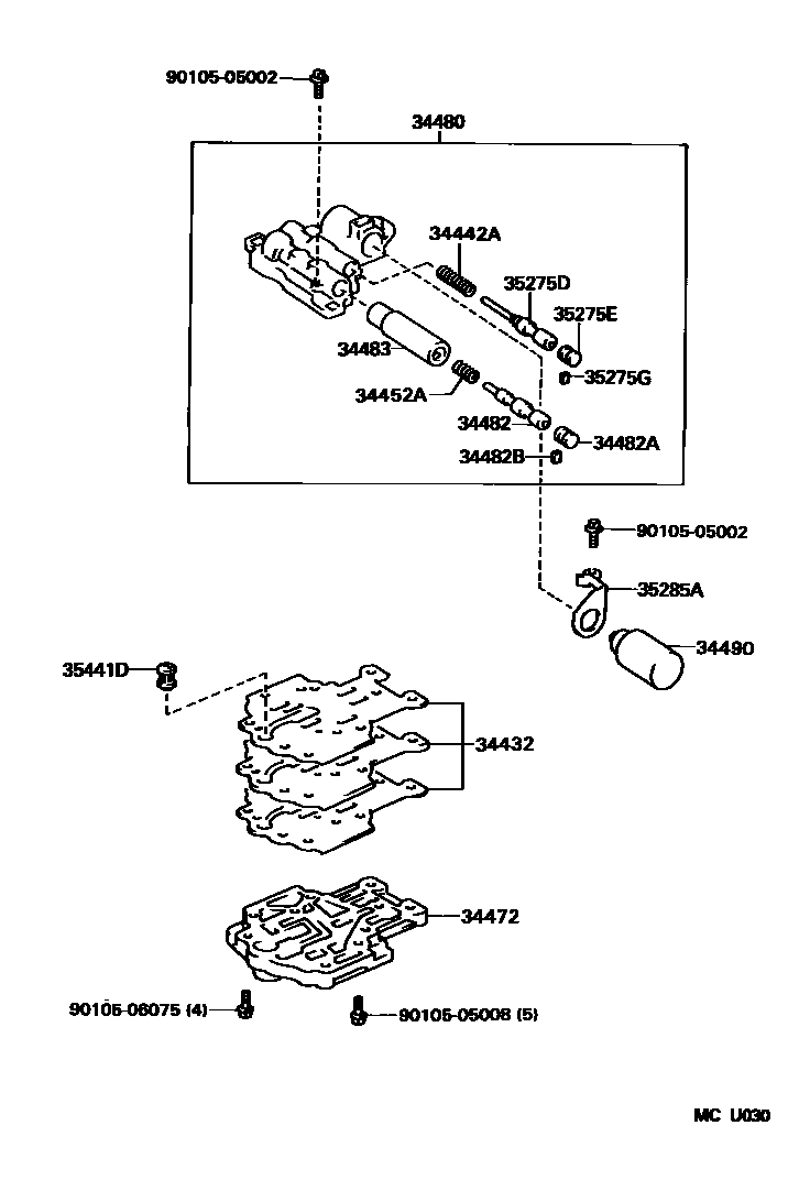
TRANSFER VALVE BODY & VALVE LEVER

Parts diagram
34432PLATE, TRANSFER VALVE BODY, UPPER
main34403-30010i199210-199508
34442ASPRING, COMPRESSION(FOR LOW-HIGH SHIFT VALVE)
main90501-12143i199210-199508
34452ASPRING (FOR TRANSFER DIRECT CLUTCH MODULATOR VALVE)
main90501-06079i199210-199508
34472COVER, TRANSFER VALVE BODY
main34472-30010i199210-199508
34480BODY ASSY, TRANSFER UPPER VALVE
main34480-30010i199210-199508
34482VALVE, CENTER DIFFERENTIAL CLUTCH CONTROL
main34482-30010i199210-199508
34482ASPRING(FOR CENTER DIFFERENTIAL CONTROL VALVE)
main90339-04003i199210-199508
34482BSEAT(FOR CENTER DIFFERENTIAL CLUTCH CONTROL VALVE PLUG)
main35493-30030i199210-199508
34483SLEEVE, CENTER DIFFERENTIAL CLUTCH CONTROL VALVE
main34483-30010i199210-199508
34490SOLENOID ASSY, TRANSFER CONTROL
main34490-30010i199210-199508
35275DVALVE, TRANSFER SOLENOID MODULATOR
main35275-30010i199210-199508
35275EPLUG (FOR TRANSFER SOLENOID MODULATOR VALVE)
main90339-04030i199210-199508
35275GSEAT (FOR TRANSFER SOLENOID MODULATOR VALVE PLUG)
main35493-30110i199210-199508
35285APLATE, SOLENOID LOCK
main35285-30050i199210-199508
35441DSTRAINER, CENTER DIFFERENTIAL LOCK CLUTCH CONTROL OIL
main35441-50030i199210-199508
9010505002
9010505008
9010506075

18 parts on this diagram · 1 diagram in section

TRANSFER VALVE BODY & VALVE LEVER — Toyota Parts Diagram with OEM Numbers & Prices | EPC Data