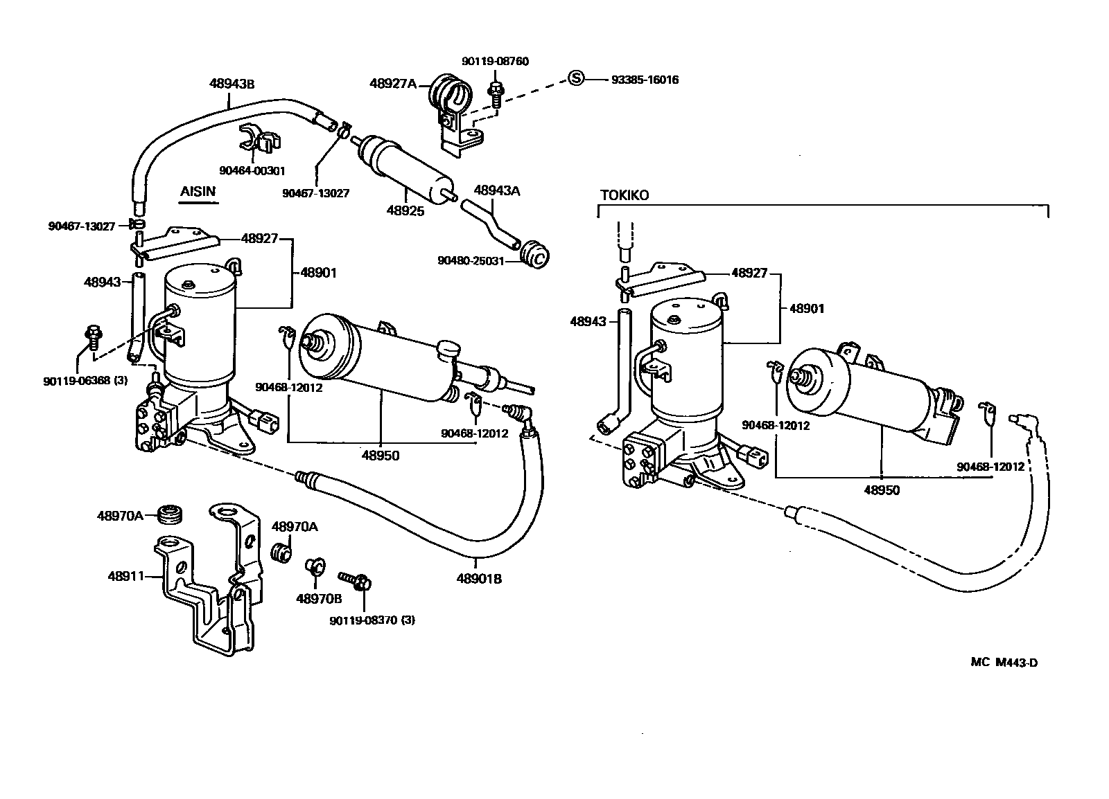
HEIGHT CONTROL (AUTO-LEVELER)

48901COMPRESSOR SUB-ASSY, HEIGHT CONTROL
MARK=89275-30090
MARK=89275-30080
48901BHOSE, FLEXIBLE(FOR HEIGHT CONTROL COMPRESSOR)
48911BRACKET, HEIGHT CONTROL COMPRESSOR
48925FILTER, HEIGHT CONTROL
48927BRACKET, HEIGHT CONTROL AIR CLEANER, NO.1
48927ABRACKET, HEIGHT CONTROL AIR CLEANER, NO.2
48943HOSE, HEIGHT CONTROL, NO.1
48943AHOSE, HEIGHT CONTROL, NO.3
48943BHOSE, HEIGHT CONTROL, NO.2
48950DRYER ASSY, HEIGHT CONTROL
AISIN COMPRESSOR
TOKIKO COMPRESSER
48970ABUSH(FOR HEIGHT CONTROL COMPRESSOR)
AISIN,OD=30,T=15
48970BSPACER(FOR HEIGHT CONTROL COMPRESSOR BRACKET)
9011906368
main90119-06368
9011908370
main90119-08370
9011908760
main90119-08760
9046400301
main90464-00301
9046713027
main90467-13027
9046812012
main90468-12012
9048025031
main90480-25031
9338516016
main93385-16016
20 parts on this diagram · 3 diagrams in section