E
EPC Data

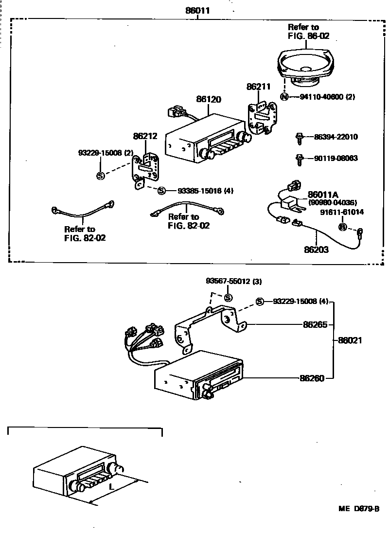
RADIO RECEIVER & AMPLIFIER & CONDENSER

Parts diagram
8202WIRING & CLAMP
86011RADIO & SETTING PARTS SET
main86011-39165i198408-198708
AM
main86011-39175i198408-198708
AM/FM MULTIPLEX,L=160
main86011-39185i198408-198708
AM/FM MULTIPLEX,L=180
86011ACONDENSER, RADIO SETTING
main90980-04036i198308-198506
IGNITION COIL
main90980-04049i198509-198708
DEFFOGGER; DEFOGGER
main90980-04053i198506-198509
IGNITION COIL
main90980-04054i198509-198708
IGNITION COIL
86021TAPE PLAYER AND SETTING PARTS SET
main86021-29145i198308-198708
86120RECEIVER ASSY, RADIO
main86120-14420i198308-198406
AM,5-PB; AM,5PB
main86120-14421i198406-198708
AM,5-PB
main86120-30470i198509-198708
*58
main86120-30590i198308-198509
*36,*ELT
main86120-30591i198509-198708
*36,*ELT
main86120-30600i198408-198509
AM,5-PB
main86120-30610i198312-198509
AM/FM MULTIPLEX,5-PB,4SPEAKERS
main86120-30611i198509-198708
AM/FM MULTIPLEX,5-PB,4SPEAKERS
main86120-30620i198409-198509
AM/FM MULTIPLEX,*ELT
main86120-30621i198605-198708
ATHLETE,AM/FM MULTIPLEX,*ELT
main86120-30690i198408-198708
AM/FM MULTIPLEX,5-PB,2SPEAKERS; AM/FM,MULTIPLEX,5-PB
main86120-30700i198408-198708
AM/FM MULTIPLEX,5-PB,L=180
86203WIRE, RADIO
main86203-30310i198308-198708
86211BRACKET, RADIO, NO.1
main86211-30040i198308-198312
86212BRACKET, RADIO, NO.2
main86212-30040i198308-198312
86260TAPE PLAYER ASSY
main86260-30180i198308-198509
main86260-30181i198609-198612
THE 40TH
main86260-30200-02i198509-198708
RR,MAROON,MAROON,TRIM3#
main86260-30200-04i198509-198708
RR,BLUE,BLUE,TRIM8#
main86260-30200-06i198509-198708
RR,BROWN,BROWN,TRIM4#
main86260-30210i198608-198708
W/*58
main86260-39015i198509-198708
W/2-SPEAKER
main86260-39025i198308-198312
W/4,5-SPEAKER
main86260-39026i198509-198708
W/4,5-SPEAKER
main86260-95700i198308-198708
86265BRACKET, TAPE PLAYER, NO.1
main86265-30040i198308-198708
8639422010
9011908063
9098004036
9161161014
9322915008
9338515016
9356755012
9411040600

19 parts on this diagram · 3 diagrams in section

RADIO RECEIVER & AMPLIFIER & CONDENSER — Toyota Parts Diagram with OEM Numbers & Prices | EPC Data