E
EPC Data

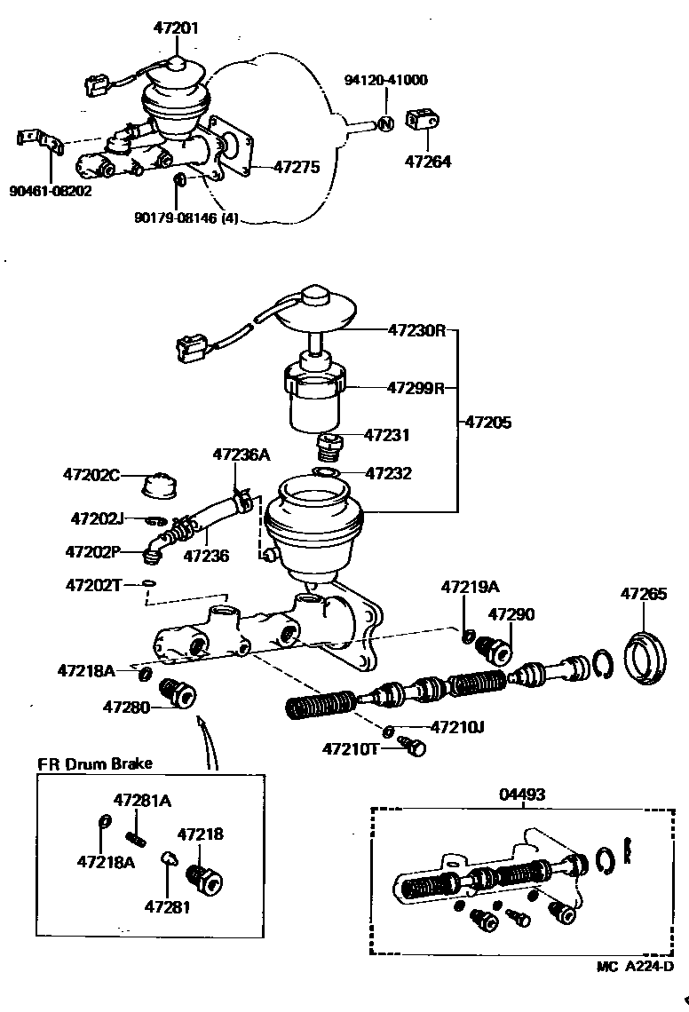
BRAKE MASTER CYLINDER

Parts diagram
04493CYLINDER KIT, BRAKE MASTER
main04493-30090i198308-198708
FR DISK BRAKE
main04493-30110i198308-198708
FR DRUM BRAKE
main04493-30150i198308-198509
main04493-30160i198509-198708
47201CYLINDER SUB-ASSY, BRAKE MASTER
main47201-30240i198308-198509
main47201-30250i198308-198708
FR DRUM BRAKE
main47201-30260i198308-198708
FR DISC BRAKE
main47201-30270i198509-198708
main47201-30280i198308-198509
47202CBOOT, RESERVOIR, NO.1(FOR BRAKE MASTER CYLINDER SIDE)
main47265-20060i198308-198708
47202JRING, SNAP(FOR BRAKE MASTER CYLINDER SIDE)
main96151-02000i198308-198708
47202PUNION, RESERVOIR(FOR BRAKE MASTER CYLINDER SIDE)
main90407-10003i198308-198708
47202TRING(FOR BRAKE MASTER CYLINDER RESERVOIR, NO.1)
main90301-14001i198308-198708
47205RESERVOIR SET, BRAKE MASTER CYLINDER(FOR REAR SIDE)
main47202-30090i198308-198708
47210JGASKET(FOR MASTER CYLINDER)
main90430-06104i198308-198708
47210TBOLT(FOR BRAKE MASTER CYLINDER)
main90109-06008i198308-198708
47218PLUG, MASTER CYLINDER FLUID OUTLET
main47218-30030i198308-198708
47218AGASKET(FOR FLUID OUTLET PLUG)
main90430-09253i198308-198708
FR DISC BRAKE
main90430-11001i198308-198708
FR DRUM BRAKE
47219AGASKET(FOR FLUID OUTLET PLUG REAR SIDE)
main90430-09253i198308-198708
47230RCAP ASSY, RESERVOIR, NO.2(FOR REAR SIDE)
main84460-20051i198308-198708
47231BOLT, BRAKE MASTER CYLINDER RESERVOIR SET
main47231-30010i198308-198708
47232WASHER, BRAKE RESERVOIR SET BOLT
main47232-30010i198308-198708
47236TUBE, RESERVOIR BRAKE
main47234-20010i198308-198708
47236ACLIP(FOR RESERVOIR TUBE)
main90467-16001i198308-198708
47264CLEVIS, MASTER CYLINDER PUSH ROD
main47264-22010i198308-198708
main47264-30040i198509-198708
47265BOOT, MASTER CYLINDER
main47265-20050i198308-198708
47275GASKET, BRAKE MASTER CYLINDER
main47275-22010i198308-198708
main47275-24010i198308-198708
47280VALVE ASSY, BRAKE MASTER CYLINDER OUTLET CHECK
main47280-30030i198308-198708
47281VALVE, BRAKE MASTER CYLINDER OUTLET CHECK
main47281-30020i198308-198708
47281ASPRING COMPRESSION(FOR OUTLET CHECK VALVE)
main90504-05001i198308-198708
47290VALVE ASSY, MASTER CYLINDER OUTLET(FOR REAR SIDE)
main47280-30030i198308-198708
47299RSTRAINER, MASTER CYLINDER RESERVOIR, REAR
main47299-14010i198308-198708
9017908146
9046108202
9412041000

28 parts on this diagram · 2 diagrams in section

BRAKE MASTER CYLINDER — Toyota Parts Diagram with OEM Numbers & Prices | EPC Data