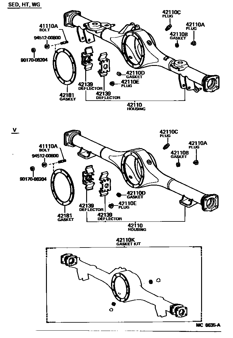
REAR AXLE HOUSING & DIFFERENTIAL

41110CARRIER ASSY, DIFFERENTIAL, REAR
R=43:10=4.300,*AXC=F282
R=41:10=4.100,*AXC=F292
R=43:11=3.909,*AXC=F312
R=41:9=4.556,*AXC=F252
R=43:9=4.778,*AXC=F362
R=43:11=3.909,*AXC=F312
R=43:10=4.300,*AXC=F282
41110ABOLT, NO.1 (FOR REAR DIFFERENTIAL CARRIER SET)
42110HOUSING ASSY, REAR AXLE
main42110-30150iLS110..(HT,SED)..(BTP,CTE,DLX,SDX); MS110..(HT,SED)..(BTP,CTE,DLX,SDX,SPE,STD)..(CBR,EFI)197909-198108
TAXI SPEC.
main42110-30192iGS110,MS110..(HT,SED)..(BTP,CTE,DLX,SDX,SPE,STD)..(CBR,EFI); LS110,111..(HT,SED)..(CTE,DLX,SDX,SPE)198108-198307
42110APLUG (FOR REAR AXLE HOUSING FILLER)
42110BGASKET (FOR REAR AXLE HOUSING FILLER PLUG)
42110CPLUG, BREATHER (FOR REAR AXLE HOUSING)
42110DGASKET (FOR REAR AXLE HOUSING DRAIN PLUG)
42110EPLUG (FOR REAR AXLE HOUSING DRAIN)
42110KGASKET KIT, DIFFERENTIAL CARRIER
main04412-30010iGS11#,LS11#,MS110,117,RS110..(BTP,CTE,DLX,SDX,SPE,STD,TAX)..(CBR,DSL,EFI,LPG,TD,TDE)197909-198307
RR DRUM BRAKE
RR DISC BRAKE
42139DEFLECTOR, REAR AXLE HOUSING OIL
42181GASKET, REAR DIFFERENTIAL CARRIER
9017008204
main90170-08204
9451200800
main94512-00800
13 parts on this diagram · 2 diagrams in section