E
EPC Data

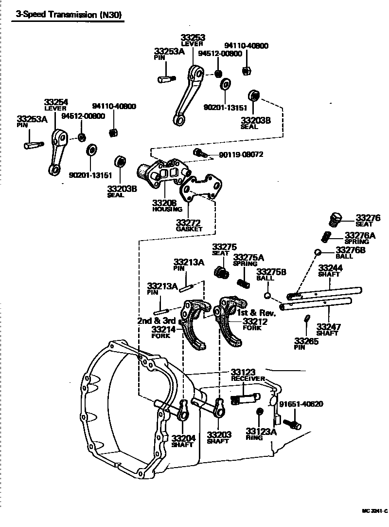
GEAR SHIFT FORK & LEVER SHAFT (MTM)

Parts diagram
33123RECEIVER, TRANSMISSION OIL
main33123-20010i197909-198010
33123ARING, O(FOR TRANSMISSION OIL RECEIVER)
main96710-01006i197909-198010
33203SHAFT SUB-ASSY, SHIFT LEVER, NO.1
main33203-20050i197909-198010
main33203-20080i197909-198108
main33203-20092i197909-198105
main33251-20040i198105-198108
main33261-31020i197909-198010
33203BSEAL, OIL(FOR SHIFT LEVER SHAFT)
main90311-18002i197909-198307
main90312-16004i197909-198010
main90313-13001i197909-198010
33204SHAFT SUB-ASSY, SHIFT LEVER, NO.2
main33204-20030i197909-198010
33208HOUSING SUB-ASSY, SHIFT LEVER SHAFT
main33208-20020i197909-198010
main33271-30021i197909-198010
main33271-30030i198010-198307
33212FORK, 1ST & REVERSE SHIFT
main33212-20030i197909-198010
main33212-30040i198010-198307
main33213-30030i197909-198010
33213FORK, 1ST & 2ND SHIFT
main33212-22020i198108-198307
main33212-31010i197909-198108
33213APIN, SLOTTED SPRING(FOR SHIFT FORK SET)
main90254-05001i197909-198108
main90254-05016i198010-198307
33214FORK, 2ND & 3RD SHIFT
main33212-30030i197909-198010
main33213-20010i197909-198010
main33213-30040i198010-198307
33244SHAFT, 2ND & 3RD SHIFT FORK
main33243-30020i197909-198010
main33243-30030i197909-198010
main33243-30040i197909-198010
main33243-30080i198010-198112
main33243-30081i198112-198307
main33243-30090i198010-198108
33247SHAFT, 1ST & REVERSE SHIFT FORK
main33242-30010i197909-198010
main33242-30020i197909-198010
main33242-30040i198010-198307
33253LEVER, SHIFT OUTER, NO.1
main33253-30080i197909-198010
main33253-30110i197909-198010
main33253-30150i198010-198307
main33253-31011i197909-198010
33253APIN, LEVER LOCK (FOR SHIFT OUTER LEVER)
main33281-16020i198010-198307
main33281-30010i197909-198010
main33282-35010i197909-198010
33254LEVER, SHIFT OUTER, NO.2
main33254-30021i197909-198010
33265PIN, SHIFT INTERLOCK, NO.2
main33265-10010i197909-198010
L=9.00-9.10
main33265-22010i198108-198307
main33265-30010i197909-198010
main33265-31010i197909-198108
L=12.6
main33266-22010i198108-198307
main90250-06006i198010-198307
main90250-06007i198108-198307
33272GASKET, SHIFT LEVER SHAFT HOUSING
main33272-20020i197909-198010
main33272-30020i197909-198010
main33272-30040i198010-198307
33275SEAT, SHIFT DETENT BALL SPRING, NO.1
main90341-10004i197909-198108
main90341-12004i198010-198307
main90341-16001i197909-198010
33275ASPRING, COMPRESSION (FOR SHIFT DETENT BALL LOW SIDE)
main90501-13001i197909-198108
main90501-13004i198010-198307
main90501-14524i197909-198010
33275BBALL, SHAFT DETENT
main90360-08009i197909-198108
main90360-10003i197909-198307
33276SEAT, SHIFT DETENT BALL SPRING, NO.2
main90341-10064i197909-198108
main90341-12004i198010-198307
main90341-12005i198108-198307
main90341-12059i197909-198010
33276ASPRING, COMPRESSION, NO.2 (FOR SHIFT DETENT BALL)
main90501-13001i197909-198108
main90501-13004i198010-198307
main90501-14524i197909-198010
33276BBALL, SHIFT DETENT, NO.2
main90360-08009i197909-198108
main90360-10003i197909-198307
9011908072
9020113151
9165140620
9411040800
9451200800

28 parts on this diagram · 9 diagrams in section

GEAR SHIFT FORK & LEVER SHAFT (MTM) — Toyota Parts Diagram with OEM Numbers & Prices | EPC Data