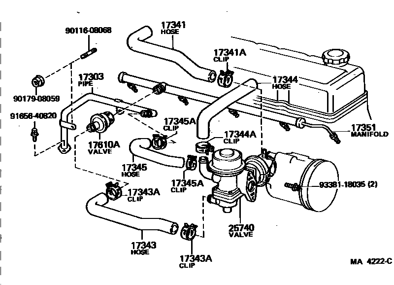
MANIFOLD AIR INJECTION SYSTEM

17303PIPE SUB-ASSY, AIR
17341HOSE, NO.1(FOR AIR INJECTION SYSTEM)
17341ACLAMP OR CLIP, NO.1(FOR AIR INJECTION SYSTEM HOSE, NO.1)
ID=28
17343HOSE, NO.3(FOR AIR INJECTION SYSTEM)
17343ACLAMP OR CLIP, NO.3(FOR AIR INJECTION SYSTEM HOSE, NO.3)
ID=26
17344HOSE, NO.4(FOR AIR INJECTION SYSTEM)
17344ACLAMP OR CLIP, NO.4(FOR AIR INJECTION SYSTEM HOSE, NO.4)
ID=26
17345HOSE, NO.5(FOR AIR INJECTION SYSTEM)
17345ACLAMP OR CLIP, NO.5(FOR AIR INJECTION SYSTEM HOSE, NO.5)
ID=23
17351MANIFOLD, AIR INJECTION
17610AVALVE, CHECK(FOR AIR INJECTION SYSTEM)
25740VALVE ASSY, AIR CONTROL
9011608068
main90116-08068
9017908059
main90179-08059
9165640820
main91656-40820
9338118035
main93381-18035
16 parts on this diagram · 4 diagrams in section