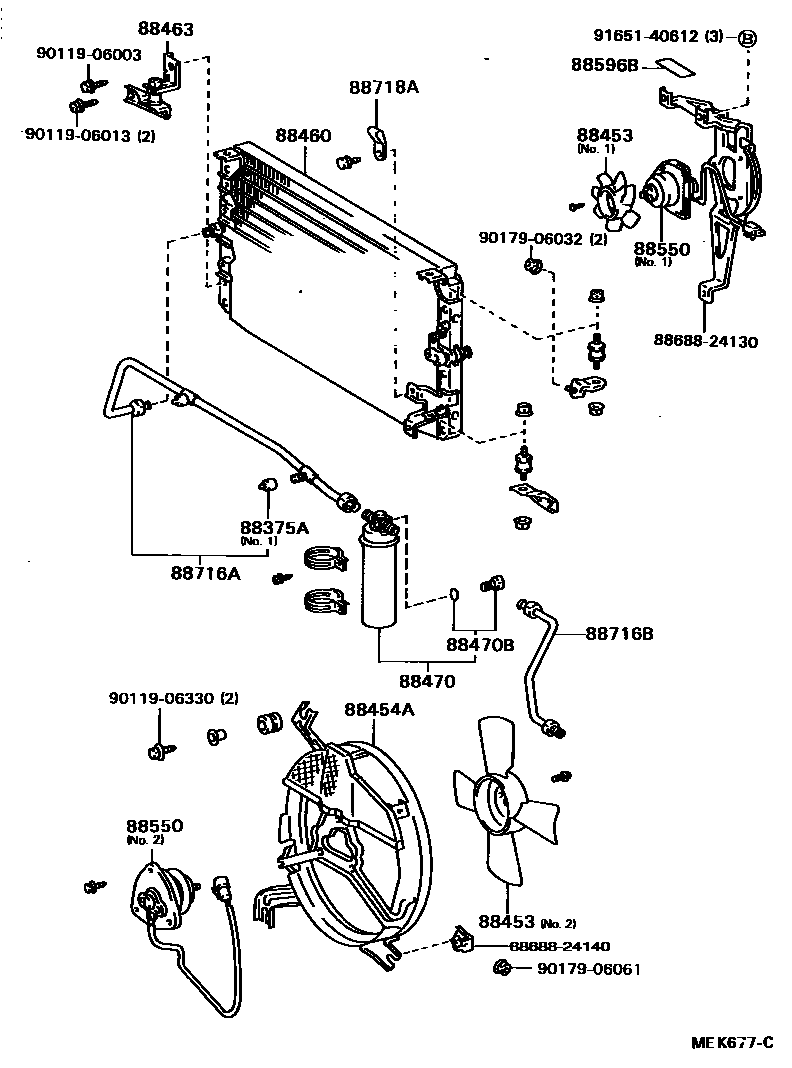
HEATING & AIR CONDITIONING - COOLER PIPING

88375ACAP, SERVICE VALVE (FOR COOLER PIPE)
NO.1
NO.2
88453FAN, COOLING (FOR CONDENSER)
88454ASHROUD, FAN
88463BRACKET, COOLER CONDENSER, NO.1
88470RECEIVER & DRYER ASSY, COOLER
88470BBOLT, FUSE
88550MOTOR ASSY, BLOWER (FOR CONDENSER)
NO.1
88596BPLATE, CAUTION, NO.1
88716APIPE, COOLER REFRIGERANT LIQUID, A
88716BPIPE, COOLER REFRIGERANT LIQUID, B
88718ACLAMP, NO.1(FOR COOLER REFRIGERANT PIPE)
8868824130BRACKET, COOLER DIAPHRAGM
main88688-24130
8868824140BRACKET, COOLER DIAPHRAGM
main88688-24140
9011906003
main90119-06003
9011906013
main90119-06013
9011906330
main90119-06330
9017906032
main90179-06032
9017906061
main90179-06061
9165140612
main91651-40612
20 parts on this diagram · 3 diagrams in section