E
EPC Data
Pricing
API Docs
Sign In
Home
›
JP
›
321130
›
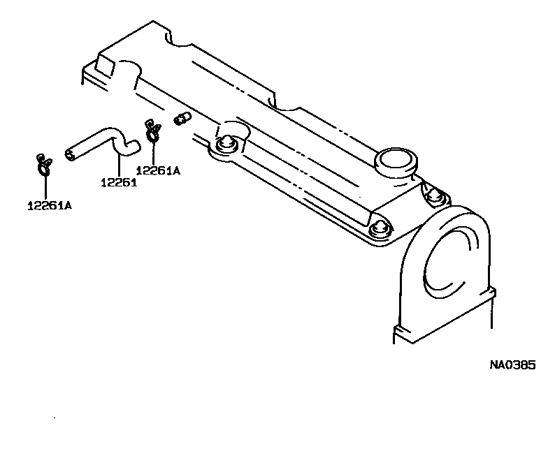
VENTILATION HOSE
VENTILATION HOSE
0001 1
0002 1
0003 1
0004 1
0005 1
12261
HOSE, VENTILATION
main
12261-42010
i
7MGTEU..MZ2#
198801-199104
main
12261-70020
i
1GEU..GZ20
198801-198901
main
12261-70040
i
1GFE..GZ20
198901-199104
main
12261-88302
i
1GGEU..GZ20
198801-199104
main
12261-88342
i
1GGTEU..GZ20
198801-199104
12261A
CLIP OR CLAMP(FOR VENTILATION HOSE)
main
90467-14001
i
1GEU..GZ20
198801-198904
main
90467-14003
i
1GGTEU..GZ20
198801-199104
main
90467-14017
i
1GGEU..GZ20
198904-199104
main
90467-16035
i
7MGTEU..MZ2#
198801-199104
main
90467-17006
i
1GFE..GZ20
198901-199104
sub
90467-17011
2 parts on this diagram · 5 diagrams in section
VENTILATION HOSE — Toyota Parts Diagram with OEM Numbers & Prices | EPC Data