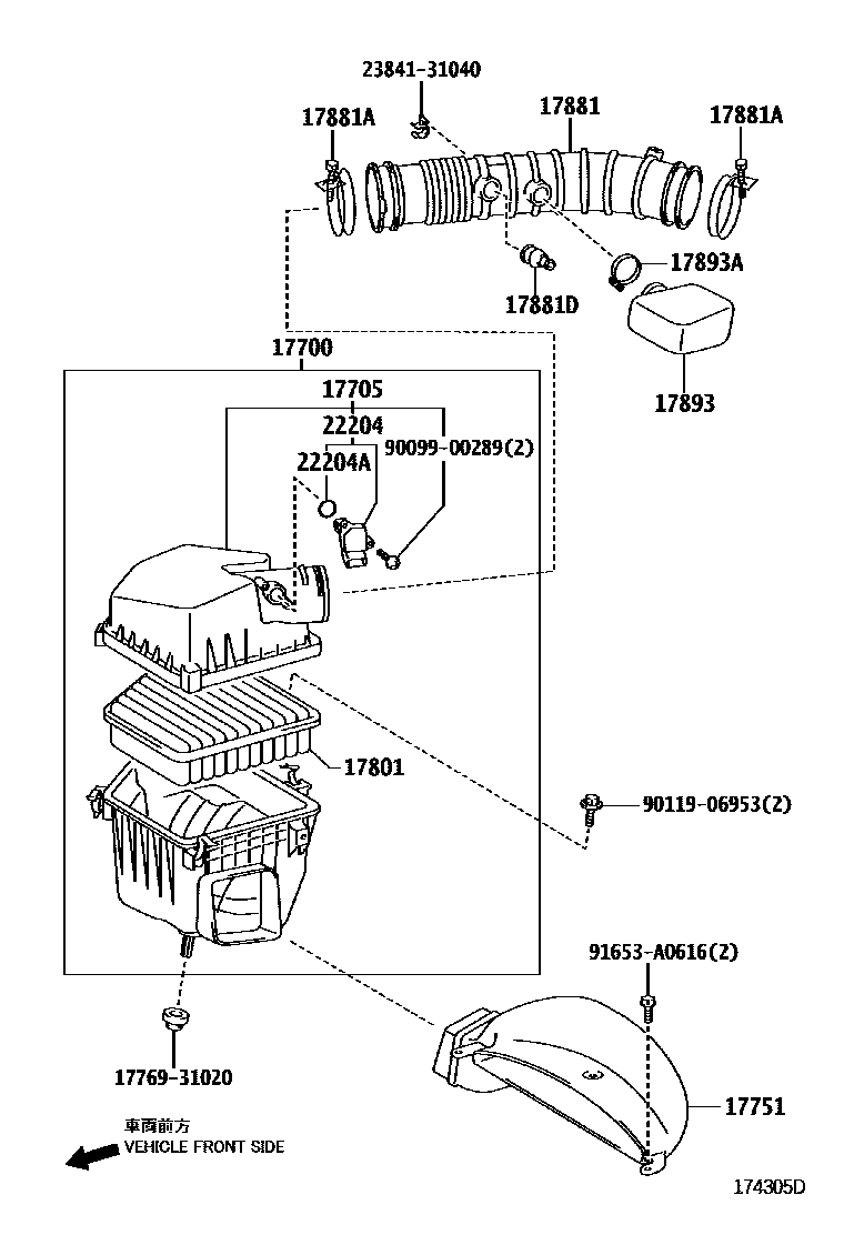
AIR CLEANER

17700CLEANER ASSY, AIR
17705CAP SUB-ASSY, AIR CLEANER
17751INLET, AIR CLEANER, NO.1
17801ELEMENT SUB-ASSY, AIR CLEANER FILTER
17881HOSE, AIR CLEANER, NO.1
17881ACLAMP(FOR AIR CLEANER HOSE, NO.1)
17881DTUBE, UNION(FOG AIR CLEANER HOSE)
17893RESONATOR, INTAKE AIR
17893ACLAMP, HOSE
22204METER SUB-ASSY, INTAKE AIR FLOW
22204ARING, O(FOR INTAKE AIR FLOW METER)
1776931020SUPPORT, AIR CLEANER
main17769-31020
2384131040CLAMP, FUEL PIPE(HOSE), NO.1
main23841-31040
9009900289
main90099-00289
9011906953
main90119-06953
91653A0616
main91653-A0616
16 parts on this diagram · 1 diagram in section