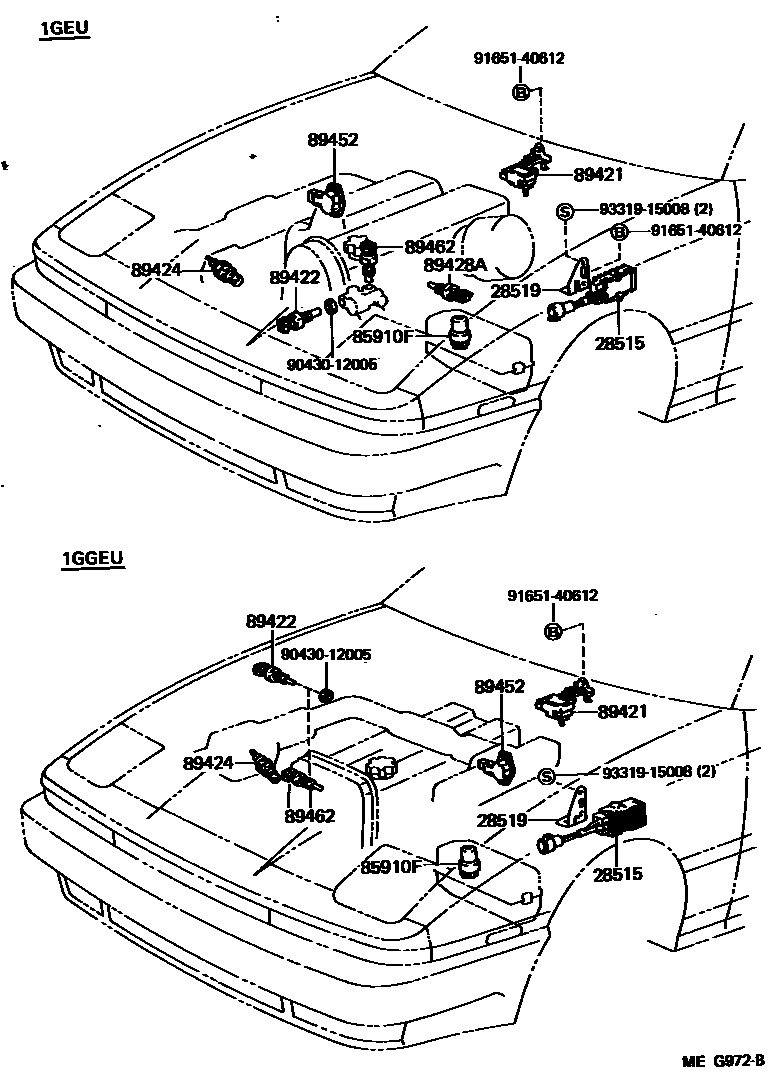
ELECTRONIC FUEL INJECTION SYSTEM

28515RESISTOR, SOLENOID
28519BRACKET, SOLENOID RESISTOR
85910FRELAY, COMPUTER (FOR EFI)
89421SENSOR ASSY, VACUUM (FOR E.F.I.)
89422SENSOR, WATER TEMPERATURE (FOR E.F.I.)
89424SENSOR, INLET AIR TEMPERATURE (FOR E.F.I.)
89428ASWITCH, WATER TEMPERATURE (FOR E.F.I)
89452SENSOR, THROTTLE POSITION (FOR E.F.I.)
89462SWITCH, START INJECTOR TIME
9043012005
main90430-12005
9165140612
main91651-40612
9331915008
main93319-15008
12 parts on this diagram · 3 diagrams in section