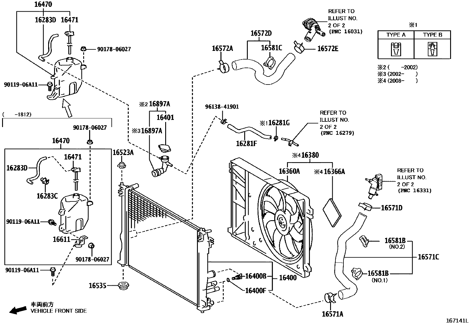
RADIATOR & WATER OUTLET

16281HOSE, WATER BY-PASS, NO.4
16281FHOSE, WATER BY-PASS, NO.5
16281GCLIP(FOR WATER BY-PASS HOSE NO.5)
16283HOSE, WATER BY-PASS, NO.6
16283CCLAMP OR CLIP(FOR WATER BY-PASS HOSE)
16283DHOSE, WATER BY-PASS, NO.6
16360AFAN ASSY, W/MOTOR
16366AINSULATOR, COOLING FAN MOTOR
16380BRACKET ASSY, FAN
16400RADIATOR ASSY
16400BPLUG, RADIATOR DRAIN COCK
16400FPACKING(FOR RADIATOR DRAIN COCK)
16401CAP SUB-ASSY, RADIATOR
16470TANK ASSY, RADIATOR RESERVE
16471CAP SUB-ASSY, RESERVE TANK
16523ACUSHION, RADIATOR SUPPORT
16535SUPPORT, RADIATOR, LOWER
16571ACLAMP OR CLIP, HOSE(FOR RADIATOR INLET)
16571CHOSE, RADIATOR, NO.1
16571DCLIP, RADIATOR HOSE, NO.1
16572ACLAMP OR CLIP, HOSE(FOR RADIATOR OUTLET NO.1)
16572DHOSE, RADIATOR, NO.2
16572ECLIP, RADIATOR HOSE, NO.2
16581BCLAMP, HOSE(FOR RADIATOR HOSE)
16581CCLAMP, HOSE(FOR RADIATOR HOSE NO.2)
16611BRACKET, RADIATOR RESERVE TANK
16897ANECK, FILLER
9011906A11
main90119-06A11
9017806027
main90178-06027
9613841901
main96138-41901
30 parts on this diagram · 3 diagrams in section