E
EPC Data

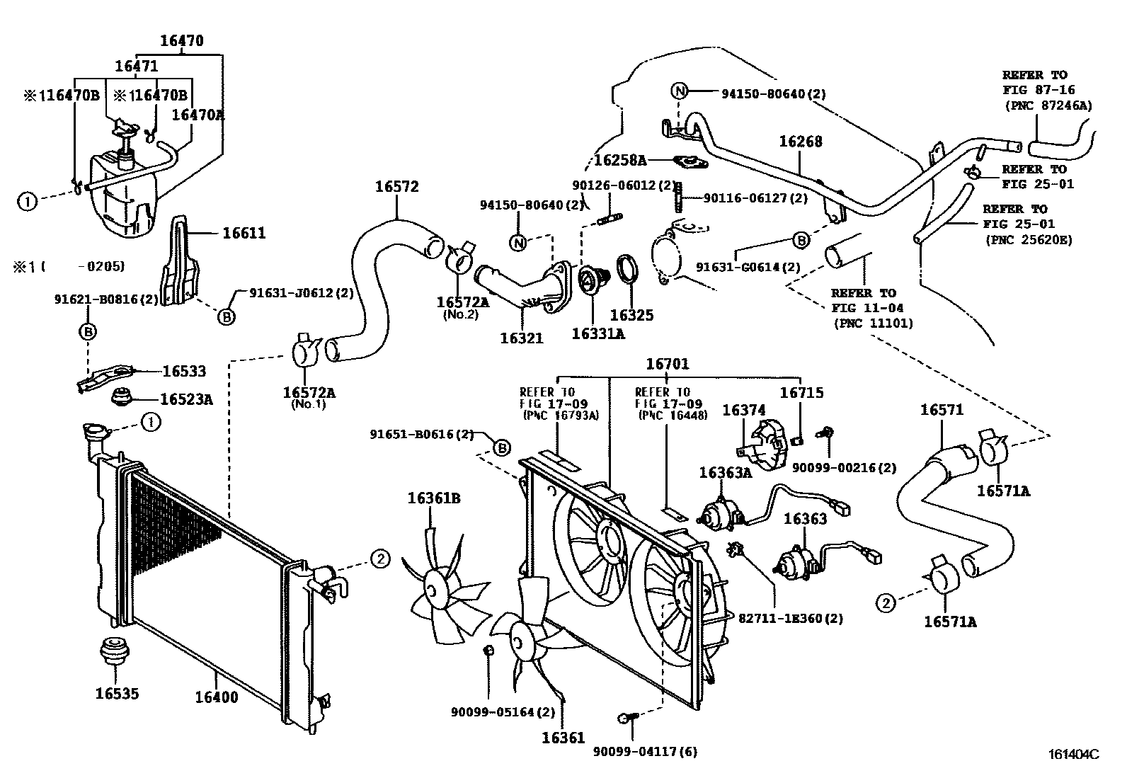
RADIATOR & WATER OUTLET

Parts diagram
1104
16258AGASKET(FOR HEATER RETURN)
main16258-28010i200108-200304
main16258-28011i200304-200307
16268PIPE, WATER BY-PASS, NO.1
main16268-22020i199806-200004
main16268-22080i200111-200308
main16268-22100i200004-200111
main16268-28020i200108
main16268-74190i199806
main16268-74250i199806-200108
16321INLET, WATER
main16321-22040i199806-199906
main16321-22050i199906-200004
main16321-22070i200004-200308
main16321-28010i200108
main16321-74050i199806
16325GASKET, WATER INLET HOUSING, NO.1
main16325-62010i200108-200307
main16325-63011i199806
16331ATHERMOSTAT
main90916-03084i200004-200007
main90916-03090i199806
main90916-03107i199806-200004
main90916-03125i200007-200308
main90916-03127i200108
16361FAN
main16361-22030i199806-200204
16361BFAN, NO.2
main16361-22040i199806-200204
16363MOTOR, COOLING FAN
main16363-22030i199806-200004
main16363-23010i200004-200204
16363AMOTOR, COOLING FAN, NO.2
main16363-22040i199806-200204
16374INSULATOR, COOLING FAN MOTOR
main16366-74700i200004-200204
16400RADIATOR ASSY
main16400-22050i199806
main16400-7A590i200108
main16400-7A600i199806-200204
16470TANK ASSY, RADIATOR RESERVE
main16470-22010i199806-200204
16470AHOSE OR PIPE(FOR RADIATOR RESERVE TANK)
main90445-12078×2i200108
16470BCLAMP OR CLIP(FOR RADIATOR RESERVE TANK HOSE)
main90467-11085×2i199806-200204
16471CAP SUB-ASSY, RESERVE TANK
main16405-22010i199806-200204
16523ACUSHION, RADIATOR SUPPORT
main16523-74010×2i199806-200204
16533SUPPORT, RADIATOR, UPPER
main16533-22010×2i200108
16535SUPPORT, RADIATOR, LOWER
main16535-20010×2i199806
main16535-28030×2i200108
16571HOSE, RADIATOR, INLET
main16571-22010i199806
main16571-28170i200108
main16571-74470i199806-200108
main16571-74480i199806-200204
16571ACLAMP OR CLIP, HOSE(FOR RADIATOR INLET)
main90466-37002×2i200108
main90467-34003i199806-200204
main90467-34004i200204
16572HOSE, RADIATOR, OUTLET
main16572-22010i199806-199906
main16572-22050i199906
main16572-28120i200108
main16572-74330i199806-200204
16572ACLAMP OR CLIP, HOSE(FOR RADIATOR OUTLET NO.1)
main90466-37002i200108
main90467-34003i199806-200204
main90467-37004i199906
main90467-37005i200204
main90467-37006i200108-200204
16611BRACKET, RADIATOR RESERVE TANK
main16611-22020i199806-200204
16701SHROUD SUB-ASSY, FAN
main16711-22050i199806-200307
main16711-74710i199806-200204
16715BRACKET, FAN SHROUD
main88688-18030×2i199806-200204
1709
2501
8716
827111E360WIRE, FUSE TO FUSE(FOR COMBUSTION HEATER)
9009900216
9009904117
9009905164
9011606127
9012606012
91621B0816
91631G0614
91631J0612
91651B0616
9415080640

40 parts on this diagram · 8 diagrams in section

RADIATOR & WATER OUTLET — Toyota Parts Diagram with OEM Numbers & Prices | EPC Data