E
EPC Data
Pricing
Sign In
Home
›
JP
›
281160
›
CENTER STOP LAMP
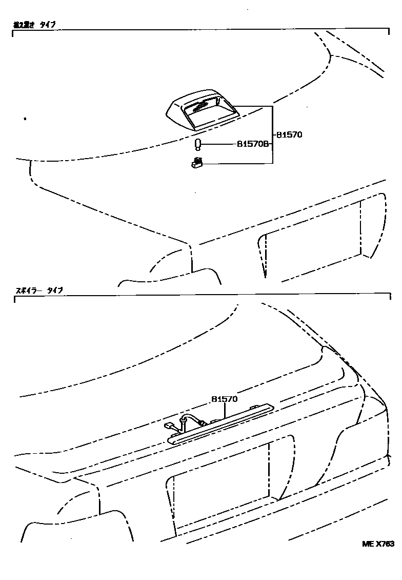
CENTER STOP LAMP
81570
LAMP ASSY, CENTER STOP
main
81570-32110-B0
i
CV4#,SV4#..ALPX,LUM,XJ,ZX
199406
SHADOW GRAY,TRIM1#
main
81570-32110-E0
i
CV4#,SV4#..LUM,XJ,ZX
199406
OAK,TRIM4#
main
81570-32120
i
SV42..SED..TOU
199406
main
81570-32130-B0
i
CV4#,SV4#..ETO,VJ,VX
199406
SHADOW GRAY,TRIM1#
main
81570-32130-E0
i
CV4#,SV4#..ETO,VJ,VX
199406
OAK,TRIM4#
main
81570-32140
i
SV42..HT..TOU
199406
81570B
BULB (FOR CENTER STOP LAMP)
main
90981-11039
i
CV4#,SV4#..ALPX,ETO,LUM,VJ,VX,XJ,ZX
199406
2 parts on this diagram · 1 diagram in section
CENTER STOP LAMP — Toyota Parts Diagram with OEM Numbers & Prices | EPC Data