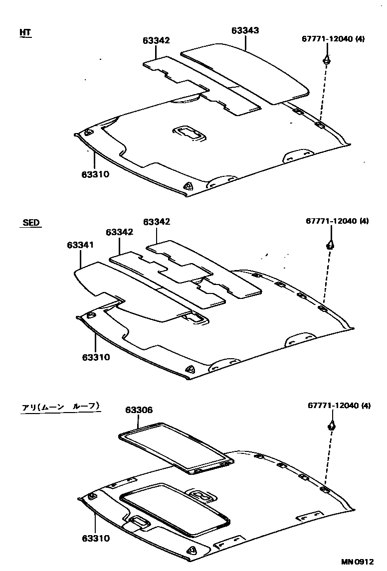
ROOF HEADLINING & SILENCER PAD

63306TRIM SUB-ASSY, SUNSHADE
TAUPE,TRIM9#
MEDIUM GRAY,TRIM1#
SABLE,TRIM4#
MI.GRAY,TRIM1#
OAK,TRIM4#
LIGHT TAUPE,TRIM9#
63310HEADLINING ASSY, ROOF
TAUPE,TRIM9#
MEDIUM GRAY,TRIM1#
MI.GRAY,TRIM1#
TAUPE,TRIM9#
TAUPE,TRIM9#
MEDIUM GRAY,TRIM1#
MEDIUM GRAY,TRIM1#
OAK,TRIM4#
TAUPE,TRIM9#
TAUPE,TRIM9#
MEDIUM GRAY,TRIM1#
SABLE,TRIM4#
MI.GRAY,TRIM1#
OAK,TRIM4#
TAUPE,TRIM9#
TAUPE,TRIM9#
MEDIUM GRAY,TRIM1#
SABLE,TRIM4#
MEDIUM GRAY,TRIM1#
SABLE,TRIM4#
OAK,TRIM4#
TAUPE,TRIM9#
63341PAD, ROOF SILENCER, NO.1
sub63341-22H92
63342PAD, ROOF SILENCER, NO.2
sub63341-22H92
63343PAD, ROOF SILENCER, NO.3
sub63341-22H92
6777112040WEATHERSTRIP, BACK DOOR TRIM, RH
main67771-12040
6 parts on this diagram · 1 diagram in section