E
EPC Data

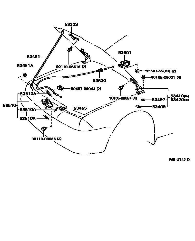
HOOD LOCK & HINGE

Parts diagram
53333STRIKER, HOOD LOCK
main53333-32010i199007-199406
53410HINGE ASSY, HOOD, RH
main53410-32050i199007-199201
main53410-32051i199201-199406
53420HINGE ASSY, HOOD, LH
main53420-32050i199007-199201
main53420-32051i199201-199406
53451ROD, HOOD SUPPORT
main53451-32050i199007-199406
53451AGROMMET(FOR HOOD SUPPORT ROD)
main90480-15024i199007-199406
53455CLAMP, HOOD SUPPORT ROD
main53455-32010i199007-199406
53497PAD, HOOD HINGE, NO.1
main53497-32050i199007-199201
main53497-32080i199201-199406
main53497-32090i199201-199406
53498PAD, HOOD HINGE, NO.2
main53498-32010i199007-199201
main53498-32030i199201-199406
main53498-32040i199201-199406
53510LOCK ASSY, HOOD
main53510-32090i199007-199206
main53510-32100i199007-199206
main53510-32110i199007-199206
main53510-32120i199206-199406
main53510-32130i199206-199406
main53510-32140i199206-199406
53510ASPRING, TENSION(FOR HOOD LOCK)
main90506-09039i199007-199206
main90506-09044i199007-199206
WD=0.9,CW=9.5
main90506-09052i199007-199206
main90506-09055i199206-199406
main90506-12065i199007-199406
WD=1.2,CW=22.5
main90506-18067i199206-199406
main90506-20062i199007-199206
main90506-20063i199007-199206
WD=2.0,CW=13
53601LEVER SUB-ASSY, HOOD LOCK CONTROL
main53601-20081-16i199007-199206
SABLE,TRIM4#
main53601-20081-22i199007-199206
TAUPE,TRIM9#
main53601-20081-23i199007-199206
MEDIUM GRAY,TRIM1#
main53601-20081-B0i199206-199406
MEDIUM GRAY,TRIM1#
main53601-20081-E0i199206-199406
OAK,TRIM4#
main53601-20081-K0i199206-199406
TAUPE,TRIM9#
53630CABLE ASSY, HOOD LOCK CONTROL
main53630-32080i199007-199206
main53630-32100i199206-199406
9010508031
9010508087
9011906616
9011906686
9046709043
9356755016

18 parts on this diagram · 1 diagram in section

HOOD LOCK & HINGE — Toyota Parts Diagram with OEM Numbers & Prices | EPC Data