E
EPC Data

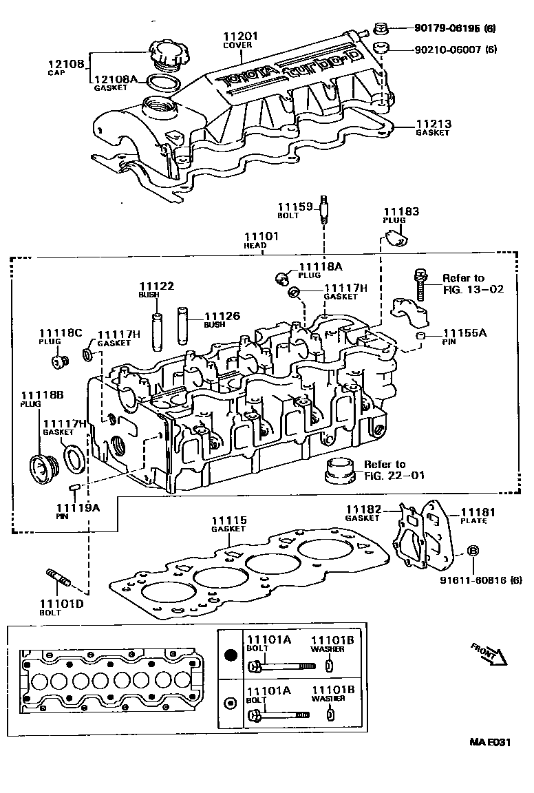
CYLINDER HEAD

Parts diagram
11101HEAD SUB-ASSY, CYLINDER
main11101-64132i199007-199206
main11101-64170i199206-199406
main11101-69065×2i199007-199106
main11101-69066×2i199106-199206
main11101-69075×2i199105-199406
main11101-74030i199007-199201
main11101-74121i199007-199206
main11101-74130i199007-199201
main11101-74190i199201-199206
main11101-74200i199206-199211
main11101-79165i199211-199406
11101ABOLT(FOR CYLINDER HEAD SET)
main90109-10132×10i199007-199406
main90910-02077×16i199007-199406
main90910-02094×10i199007-199206
main90910-02097×8i199007-199206
11-1.25PX130-50
main90910-02099×10i199206-199406
*11-1.25PX152-50
11101BWASHER, PLATE(FOR CYLINDER HEAD SET)
main90201-11018×16i199007-199105
main90201-11026×10i199007-199406
main90201-11028×16i199105-199406
main90201-12222×18i199007-199406
11101DBOLT, STUD(FOR WATER OUTLET)
main92122-60820×3i199007-199406
11115GASKET, CYLINDER HEAD
main11115-62050i199007-199206
main11115-62060i199105-199406
main11115-64120i199007-199101
main11115-64121i199101-199406
main11115-74060i199007-199406
main11115-74070i199007-199406
main11115-74090i199007-199206
11117HGASKET(FOR WATER HOLE)
main90430-10204×4i199007-199406
main90430-12010×2i199007-199406
main90430-24013×4i199106-199406
main90430-24246×4i199007-199106
main90430-33133i199007-199406
11118APLUG, STRAIGHT, NO.1
main90341-10005×4i199007-199406
main90341-27005×2i199007-199008
main90341-27006×2i199008-199206
main90341-32031i199007-199206
11118BPLUG, STRAIGHT, NO.2
main90341-32070i199007-199406
11118CPLUG, STRAIGHT, NO.3
main90341-12013×2i199007-199406
11119APIN, STRAIGHT, NO.1
main90250-06003i199007-199406
main90250-06013×2i199206-199406
main90250-06068×3i199007-199206
11122BUSH, INTAKE VALVE GUIDE
main11122-16010×8i199007-199206
main11122-16020×12i199007-199406
main11122-64010×4i199007-199406
main11122-74030×8i199206-199406
main11122-88320×8i199007-199206
main11123-16010×8i199007-199206
main11123-16020×12i199007-199406
main11123-64010×4i199007-199406
main11123-74030×8i199007-199206
main11123-88320×8i199007-199206
11126BUSH, EXHAUST VALVE GUIDE
main11122-16010×8i199007-199406
main11122-16020×12i199007-199406
main11122-64010×4i199007-199206
main11122-88320×8i199007-199206
main11123-16010×8i199007-199406
main11123-16020×12i199007-199406
main11123-64010×4i199007-199206
main11123-88320×8i199007-199206
main11126-64010×4i199206-199406
main11127-64010×4i199206-199406
11155APIN, RING W/HEAD
main90253-10004×6i199007-199406
main90253-11021×10i199007-199406
11159BOLT, STUD(FOR HEAD TO CAMSHAFT BEARING CAP)
main90116-06023×6i199007-199206
11181PLATE, CYLINDER HEAD, REAR
main11181-62010i199007-199206
main11181-62020i199105-199406
main11181-64010i199007-199406
11182GASKET, CYLINDER HEAD REAR PLATE
main11182-64020i199007-199406
11183PLUG, SEMICIRCULAR
main11183-62010×4i199007-199406
main11183-64010i199007-199406
main11183-74010×2i199007-199406
11201COVER SUB-ASSY, CYLINDER HEAD
main11201-62020i199007-199206
main11201-62030i199105-199406
main11201-64090i199007-199206
main11201-64110i199206-199406
main11201-74020i199007-199206
main11201-74040i199007-199010
main11201-74041i199010-199012
main11201-74042i199012-199206
main11201-74050i199007-199206
11213GASKET, CYLINDER HEAD COVER
main11213-62010i199007-199206
main11213-62020i199105-199406
main11213-64040i199007-199206
main11213-64060i199206-199406
main11213-74020i199007-199406
main11213-74040i199007-199206
12108CAP SUB-ASSY, OIL FILLER
main12180-13030i199007-199312
main12180-46010i199105-199406
main12180-55010i199312-199406
main12180-65010i199007-199107
main12180-65011i199107-199206
12108AGASKET(FOR OIL FILLER CAP)
main12195-46010i199105-199107
main12195-46011i199107-199406
main90430-37004i199007-199206
main90430-37140i199007-199406
1302
2201
9017906195
9021006007
9161160816

26 parts on this diagram · 6 diagrams in section

CYLINDER HEAD — Toyota Parts Diagram with OEM Numbers & Prices | EPC Data