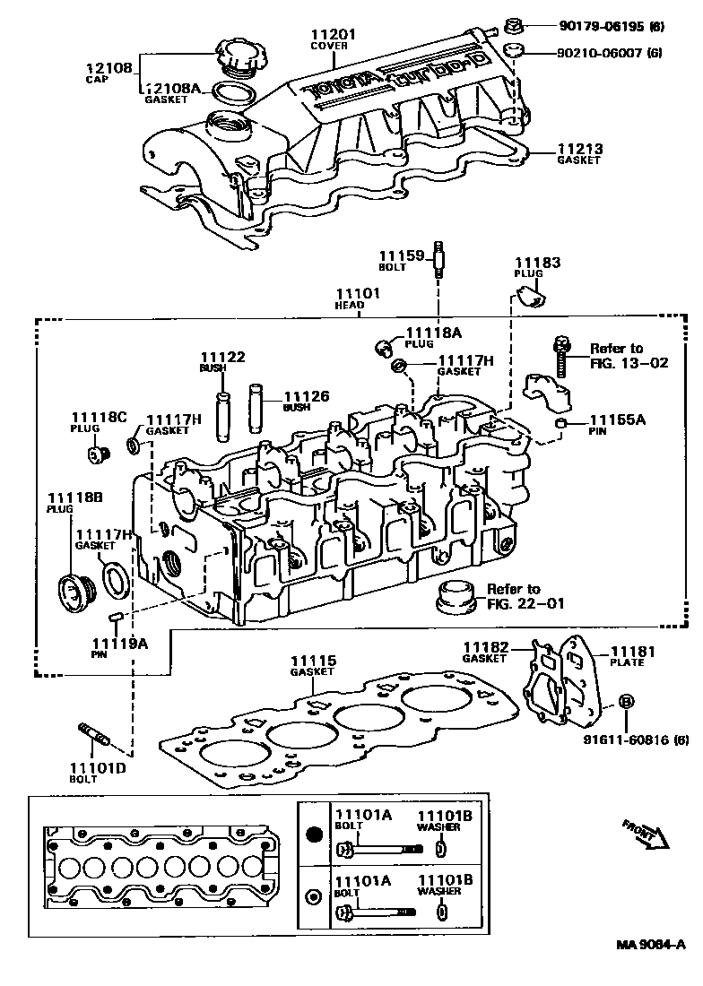
CYLINDER HEAD

11101ABOLT(FOR CYLINDER HEAD SET)
*11-1.25PX130-50
*11-1.25PX152-50
11101DBOLT, STUD(FOR WATER OUTLET)
11117HGASKET(FOR WATER HOLE)
PNC11118A
PNC11118C
PNC11118B
11118APLUG, STRAIGHT, NO.1
*53,OD=30
*54
*53,OD=36
11118BPLUG, STRAIGHT, NO.2
11118CPLUG, STRAIGHT, NO.3
11119APIN, STRAIGHT, NO.1
11122BUSH, INTAKE VALVE GUIDE
11155APIN, RING W/HEAD
11159BOLT, STUD(FOR HEAD TO CAMSHAFT BEARING CAP)
11181PLATE, CYLINDER HEAD, REAR
11183PLUG, SEMICIRCULAR
11201COVER SUB-ASSY, CYLINDER HEAD
NO.1
NO.2
LH,*53
LH,*54
RH,*54
RH,*53
11213GASKET, CYLINDER HEAD COVER
RH,*53
RH,*54
LH,*53
LH,*54
12108AGASKET(FOR OIL FILLER CAP)
1302
2201
9017906195
main90179-06195
9021006007
main90210-06007
9161160816
main91611-60816
26 parts on this diagram · 4 diagrams in section