E
EPC Data

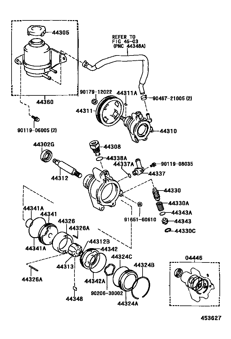
VANE PUMP & RESERVOIR (POWER STEERING)

Parts diagram
04446GASKET KIT, POWER STEERING PUMP
main04446-20030i198710-198808
44302GSEAL, OIL, NO.2(FOR VANE PUMP HOUSING)
main90311-18007i198608-198808
44305CAP SUB-ASSY, VANE PUMP OIL RESERVOIR
main44305-22020i198710-198808
44308UNION SUB-ASSY, PRESSURE PORT
main44308-32030i198608-198808
main44308-32040i198710-198808
44310PUMP ASSY, VANE
main44320-32030i198608-198712
main44320-32031i198712-198808
main44320-32040i198608-198712
main44320-32041i198712-198808
main44320-32050i198608-198712
main44320-32051i198712-198808
main44320-32070i198608-198710
PROGRESSIBLE TYPE
main44320-32071i198710-198808
main44320-32110i198704-198710
main44320-32111i198710-198808
44311PULLEY, VANE PUMP
main44311-32020i198608-198808
main44311-32030i198608-198808
main44311-32040i198704-198808
44311AKEY, VANE PUMP PULLEY
main90280-05008i198608-198808
44312SHAFT, VANE PUMP
main44312-12030i198608-198808
44312BRING, SNAP, NO.1(FOR VANE PUMP SHAFT)
main90520-10003i198608-198808
44313ROTOR, VANE PUMP
main44313-12010i198710-198712
main44313-12020i198608-198710
main44313-12030i198608-198710
main44313-12040i198608-198710
main44313-12050i198710-198712
main44313-22040i198712-198808
main44313-22050i198712-198808
main44313-22060i198712-198808
main44313-22070i198712-198808
main44313-22080i198712-198808
main44313-32010i198608-198710
main44313-32020i198710-198808
main44313-32030i198710-198808
main44313-32040i198710-198808
main44313-32050i198710-198808
44324AHOUSING, PUMP, REAR
main44324-12031i198608-198808
44324BRING, HOLE SNAP(FOR PUMP HOUSING REAR)
main90521-62002i198608-198808
44324CRING, O(FOR PUMP HOUSING REAR)
main90301-52001i198608-198808
44326RING, CAM(FOR VANE PUMP)
main44325-30100i198608-198710
main44325-30110i198710-198808
main44325-30120i198608-198710
main44325-30130i198608-198710
main44325-30140i198608-198710
main44325-32010i198710-198808
main44325-32020i198710-198808
main44325-32030i198710-198808
main44325-32040i198710-198808
main44325-32050i198710-198808
44326APIN, STRAIGHT(FOR VANE PUMP CAM RING)
main90250-04047i198608-198710
main90250-04049i198608-198710
44330VALVE ASSY, FLOW CONTROL
main44330-12130i198608-198710
main44330-12140i198710-198808
main44330-12150i198710-198808
main44330-12160i198710-198808
main44330-12170i198608-198710
main44330-12180i198608-198710
main44330-14010i198710-198808
main44330-14020i198710-198808
main44330-14030i198710-198808
main44330-14040i198710-198808
main44330-14050i198710-198808
main44330-14060i198710-198808
main44330-16070i198710-198808
main44330-16080i198710-198808
main44330-16090i198710-198808
main44330-16100i198710-198808
main44330-16110i198710-198808
main44330-16120i198710-198808
main44330-30100i198710-198808
main44330-30110i198710-198808
main44330-30120i198608-198710
main44330-30130i198608-198710
main44330-30140i198608-198710
main44330-30150i198710-198808
main44330-35070i198710-198808
main44330-35080i198710-198808
main44330-35090i198710-198808
main44330-35100i198710-198808
main44330-35110i198710-198808
main44330-35120i198710-198808
44330ASPRING, COMPRESSION(FOR FLOW CONTROL VALVE)
main90501-12103i198608-198808
44330CRING, SNAP(FOR FLOW CONTROL VALVE)
main96151-01700i198608-198808
44337UNION, POWER STEERING SUCTION PORT
main44337-12010i198608-198808
main44337-12030i198608-198808
main44337-32040i198704-198808
44337ARING, O(FOR POWER STEERING SUCTION PORT)
main90301-12003i198608-198808
44338ARING, O(FOR PRESSURE PORT UNION)
main90301-19003i198710-198808
44341PLATE, VANE PUMP SIDE, FRONT
main44341-12030i198608-198706
main44341-32010i198706-198712
44341ARING, O(FOR VANE PUMP FRONT SIDE PLATE)
main90301-25001i198608-198710
INNER
main90301-52001i198608-198710
OUTER
44342PLATE, VANE PUMP SIDE, REAR
main44342-12021i198608-198706
main44342-32010i198706-198712
44342ARING, O(FOR VANE PUMP SIDE PLATE REAR)
main90301-52001i198608-198808
44343SEAT, FLOW CONTROL SPRING
main44343-12010i198608-198808
44343ARING, O(FOR FLOW CONTROL SPRING SEAT)
main96711-19014i198608-198808
44348PLATE, VANE PUMP
main44345-12010×10i198608-198710
main44345-12020×10i198710-198808
main44345-12030×10i198608-198710
main44345-12040×10i198710-198808
main44345-12050×10i198710-198808
44360RESERVOIR ASSY, VANE PUMP OIL
main44360-32030i198710-198808
4503
9011906005
9011908035
9017912022
9020630002
9046721005
9165160610

36 parts on this diagram · 2 diagrams in section

VANE PUMP & RESERVOIR (POWER STEERING) — Toyota Parts Diagram with OEM Numbers & Prices | EPC Data