E
EPC Data

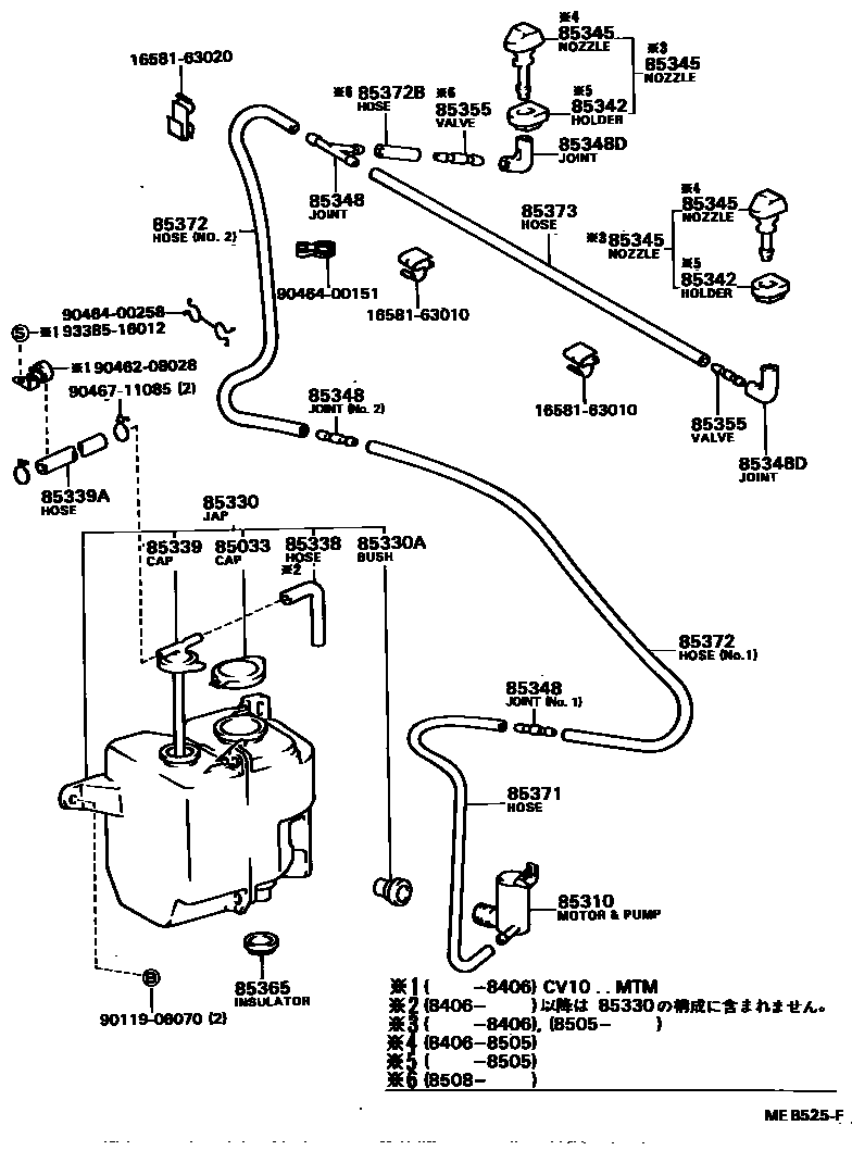
WINDSHIELD WASHER

Parts diagram
85033CAP ASSY, WINDSHIELD WASHER
main85332-12320i198308-198406
main85332-16010i198203-198406
85310MOTOR AND PUMP ASSY, WINDSHIELD WASHER
main85310-22080i198203-198607
85330JAR ASSY, WINDSHIELD WASHER
main85330-32010i198203-198406
main85331-32100i198308-198406
main85331-32110i198406-198607
85330ABUSH, WINDSHIELD WASHER JAR
main90099-32089i198203-198607
85338HOSE, BREATHER
main85338-12010i198308-198406
main85338-14010i198506-198607
main85338-32010i198203-198406
85339CAP SUB-ASSY, RESERVE TANK
main85339-12010i198406-198607
main85339-32010i198203-198406
main85339-32020i198308-198406
85339AHOSE (FOR RADIATOR RESERVE TANK)
main90099-33376i198203-198406
main90099-33377i198308-198406
main90445-12013i198406-198607
85342HOLDER, WASHER NOZZLE
main85342-14010×2i198203-198505
85345NOZZLE, WINDSHIELD WASHER
main85035-19025×2i198203-198406
main85035-32030×2i198406-198505
main85035-32031×2i198505-198607
85348JOINT, WINDSHIELD WASHER HOSE, NO.1
main85348-12250i198508-198607
3-WAY
main85349-89122i198508-198607
2-WAY,NO.2
main85355-14010i198203-198508
3-WAY
main85355-87201×2i198203-198508
2-WAY,NO.1,NO.2
85348DJOINT, WINDSHIELD WASHER ELBOW, NO.1
main85355-20070×2i198203-198607
85355VALVE, WINDSHIELD WASHER HOSE
main85031-12250i198508-198607
main85031-14080i198203-198508
85365INSULATOR, WINDSHIELD WASHER JAR
main85312-32010i198203-198607
85371HOSE, WINDSHIELD WASHER (FROM MOTOR TO JOINT)
main90446-06013i198203-198607
85372HOSE, WINDSHIELD WASHER (FROM JOINT TO JOINT), NO.1
main90099-33299i198203-198607
main90446-07001i198508-198607
main90446-07005i198203-198508
85372BHOSE, WINDSHIELD WASHER (FROM JOINT TO JOINT), NO.2
main90446-07001i198508-198607
85373HOSE, WINDSHIELD WASHER (FROM JOINT TO NOZZLE)
main90446-06013i198203-198607
1658163010CLAMP, HOSE(FOR WATER HOSE)
1658163020CLAMP, HOSE(FOR WATER HOSE)
9011906070
9046208028
9046400151
9046400258
9046711085
9338516012

25 parts on this diagram · 1 diagram in section

WINDSHIELD WASHER — Toyota Parts Diagram with OEM Numbers & Prices | EPC Data