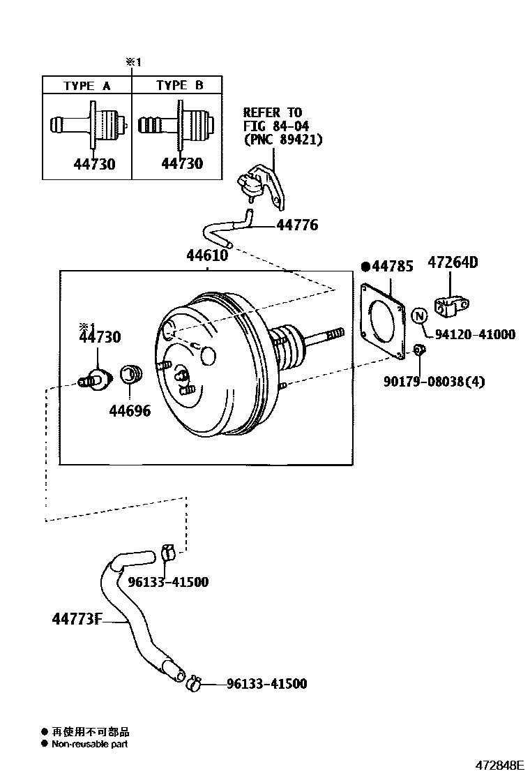
BRAKE BOOSTER & VACUUM TUBE

44610BOOSTER ASSY, BRAKE
44696GROMMET, CHECK VALVE
44730VALVE ASSY, VACUUM CHECK(FOR BRAKE)
44773FHOSE, UNION TO CHECK VALVE
44776HOSE, BRAKE BOOSTER
44785GASKET, BRAKE BOOSTER
47264DCLEVIS, BRAKE MASTER CYLINDER PUSH ROD
8404ELECTRONIC FUEL INJECTION SYSTEM
9017908038
main90179-08038
9412041000
main94120-41000
9613341500
main96133-41500
11 parts on this diagram · 3 diagrams in section