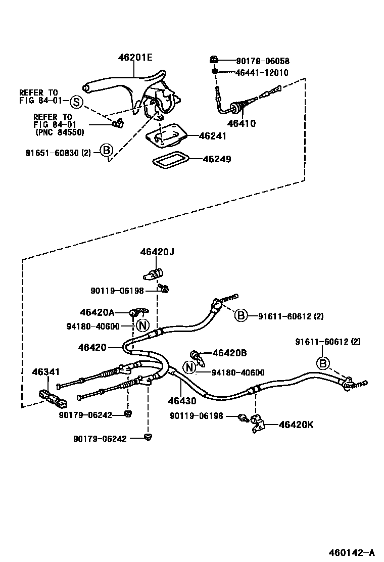
PARKING BRAKE & CABLE

46201ELEVER SUB-ASSY, PARKING BRAKE
BLACK,TRIM1#
BLACK,TRIM2#
46241BOOT, PARKING BRAKE LEVER
46249SHIELD, PARKING BRAKE HOLE
46410CABLE ASSY, PARKING BRAKE, NO.1
46420CABLE ASSY, PARKING BRAKE, NO.2
46420ACLAMP, NO.1(FOR PARKING BRAKE CABLE)
46420BCLAMP, NO.2(FOR PARKING BRAKE CABLE)
46420JCLAMP, NO.3(FOR PARKING BRAKE CABLE)
46420KCLAMP, NO.4(FOR PARKING BRAKE CABLE)
46430CABLE ASSY, PARKING BRAKE, NO.3
8401SWITCH & RELAY & COMPUTER
4644112010NUT, WIRE ADJUSTING, NO.1
main46441-12010
9011906198
main90119-06198
9017906058
main90179-06058
9017906242
main90179-06242
9161160612
main91611-60612
9165160830
main91651-60830
9418040600
main94180-40600
19 parts on this diagram · 3 diagrams in section