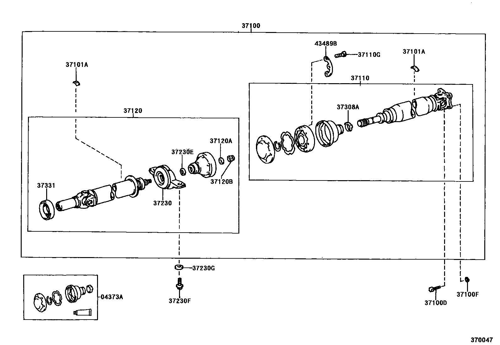
PROPELLER SHAFT & UNIVERSAL JOINT

04373ABOOT KIT, UNIVERSAL
37100SHAFT ASSY, PROPELLER W/CENTER BEARING
37100DBOLT, NO.2 (FOR PROPELLER SHAFT & DIFFERENTIAL SETTING)
37100FWASHER, NO.2 (FOR PROPELLER SHAFT & DIFFERENTIAL SETTING)
37101APIECE, BALANCE, NO.1 (FOR PROPELLER SHAFT)
37110SHAFT ASSY, PROPELLER
37110GBOLT (FOR REAR PROPELLER SHAFT)
37120SHAFT ASSY, PROPELLER INTERMEDIATE
37120AWASHER, PLATE (FOR PROPELLER INTERMEDIATE SHAFT SET)
37120BNUT (FOR PROPELLER INTERMEDIATE SHAFT SETTING)
37230BEARING ASSY, CENTER SUPPORT, NO.1
37230EWASHER, NO.1 (FOR CENTER SUPPORT BEARING)
37230FBOLT, NO.1 (FOR CENTER SUPPORT BEARING)
37230GWASHER, NO.2 (FOR CENTER SUPPORT BEARING)
37308ACLAMP (FOR UNIVERSAL JOINT COVER)
37331COVER, SLIDING SHAFT DUST
43489BWASHER, CONSTANT VELOCITY UNIVERSAL JOINT
17 parts on this diagram · 2 diagrams in section