E
EPC Data

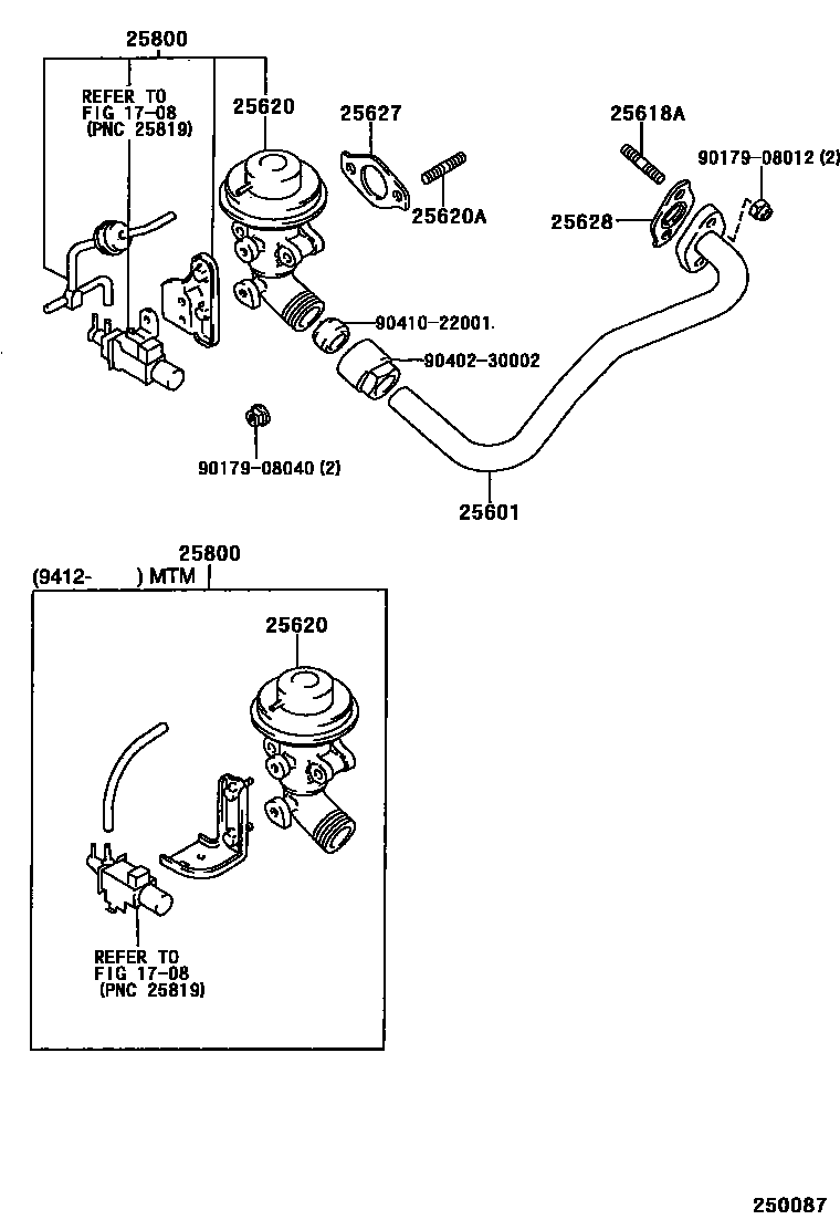
EXHAUST GAS RECIRCULATION SYSTEM

Parts diagram
1708VACUUM PIPING
25601PIPE SUB-ASSY, EGR, NO.1
main25601-64030i199211-199402
main25601-64070i199601-199707
main25601-64071i199707
25618ABOLT, STUD(FOR EGR INLET)
main92122-60822×2i199211-199402
25620VALVE ASSY, EGR
main25620-64080i199211-199402
main25620-64130i199601-199805
main25620-64150i199412-199601
main25620-64170i199601-199708
main25620-64200i199805
25620ABOLT, STUD(FOR EGR VALVE)
main90116-08198×2i199211-199402
25627GASKET, EGR VALVE
main25627-64030i199211-199402
25628GASKET, EGR INLET
main25628-64030i199211-199402
25800VALVE ASSY, ELECTRIC EGR CONTROL
main25800-64060i199211-199402
main25800-64090i199412-199601
main25800-64160i199805
9017908012
9017908040
9040230002
9041022001

12 parts on this diagram · 2 diagrams in section

EXHAUST GAS RECIRCULATION SYSTEM — Toyota Parts Diagram with OEM Numbers & Prices | EPC Data