E
EPC Data

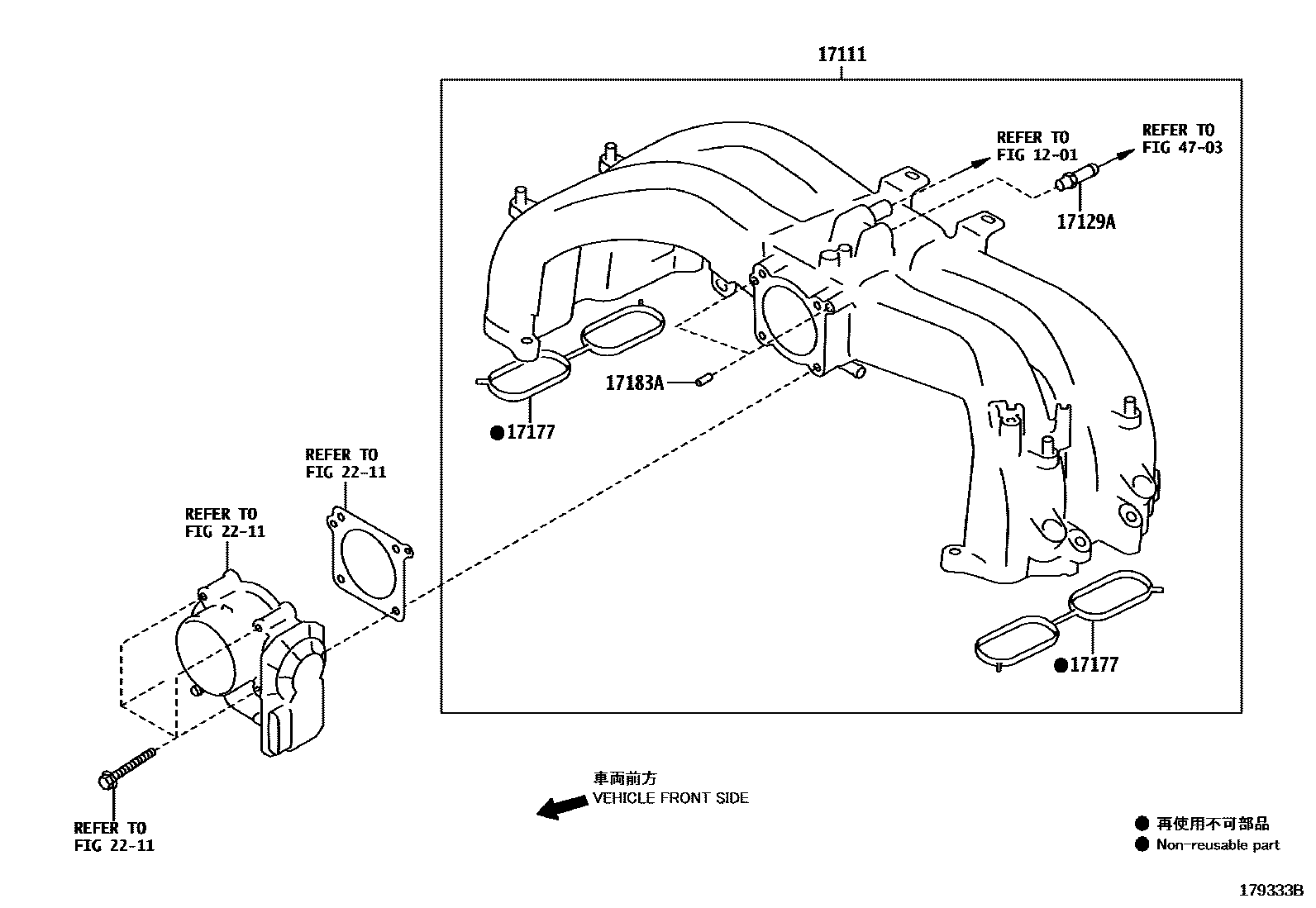
MANIFOLD

Parts diagram
1201VENTILATION HOSE
17111MANIFOLD, INTAKE
mainSU00300288i201709-201804
mainSU00306453i201904-202104
17129AUNION, NO.1
mainSU00306487i201805-201904
17177GASKET, INTAKE MANIFOLD TO HEAD, NO.1
mainSU00300290×2i201608-201709
mainSU00306454×2i201805-201904
17183ACOLLAR, MANIFOLD
mainSU00306457×2i201608-201709
2211FUEL INJECTION SYSTEM
4703BRAKE BOOSTER & VACUUM TUBE

7 parts on this diagram · 9 diagrams in section

MANIFOLD — Toyota Parts Diagram with OEM Numbers & Prices | EPC Data