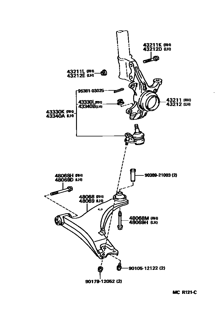
FRONT AXLE ARM & STEERING KNUCKLE

43211KBOLT (FOR STEERING KNUCKLE RH)
43211LNUT (FOR STEERING KNUCKLE RH)
43212DBOLT (FOR STEERING KNUCKLE LH)
43212ENUT (FOR STEERING KNUCKLE LH)
43330LNUT, CASTLE (FOR FRONT LOWER BALL JOINT RH)
43340BNUT, CASTLE (FOR FRONT LOWER BALL JOINT LH)
48068MBOLT(FOR FRONT SUSPENSION LOWER ARM NO.2 RH)
48069HBOLT(FOR FRONT SUSPENSION LOWER ARM NO.2 LH)
9010512122
main90105-12122
9017912052
main90179-12052
9038921003
main90389-21003
9538103025
main95381-03025
20 parts on this diagram · 2 diagrams in section