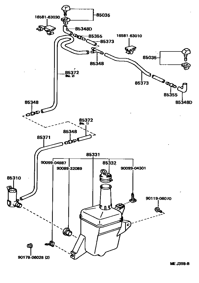
WINDSHIELD WASHER

85310MOTOR AND PUMP ASSY, WINDSHIELD WASHER
85331JAR SUB-ASSY, WINDSHIELD WASHER
85332CAP, WINDSHIELD WASHER JAR
85348JOINT, WINDSHIELD WASHER HOSE, NO.1
3-WAY
2-WAY
85348DJOINT, WINDSHIELD WASHER ELBOW, NO.1
85355VALVE, WINDSHIELD WASHER HOSE
85371HOSE, WINDSHIELD WASHER (FROM MOTOR TO JOINT)
85372HOSE, WINDSHIELD WASHER (FROM JOINT TO JOINT), NO.1
85373HOSE, WINDSHIELD WASHER (FROM JOINT TO NOZZLE)
1658163010CLAMP, HOSE(FOR WATER HOSE)
main16581-63010
1658163030CLAMP, HOSE(FOR WATER HOSE)
main16581-63030
9009904301
main90099-04301
9009904987
main90099-04987
9009932089
main90099-32089
9011906070
main90119-06070
9017906026
main90179-06026
17 parts on this diagram · 2 diagrams in section