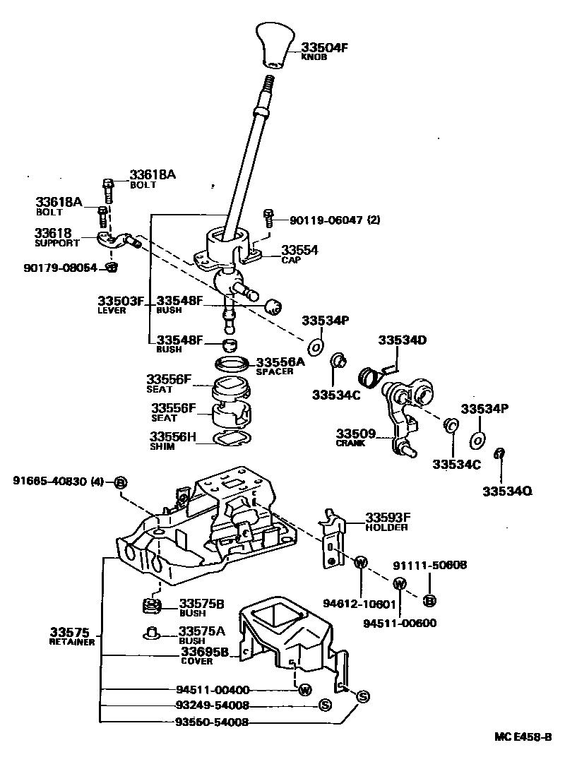
SHIFT LEVER & RETAINER

33503FLEVER SUB-ASSY, SHIFT(FOR FLOOR SHIFT)
33504FKNOB SUB-ASSY, SHIFT LEVER
33509CRANK SUB-ASSY, SELECTING BELL, NO.1
33534CBUSH (FOR SELECTING BELLCRANK NO.1)
33534DSPRING, TORSION (FOR SELECTING BELLCRANK NO.1)
33534PWASHER, PLATE (FOR SELECTING BELLCRANK NO.1)
33534QRING, E (FOR SELECTING BELLCRANK NO.1)
33548FBUSH, NO.1, SHIFT LEVER (FOR FLOOR SHIFT)
33554CAP, SHIFT LEVER
33556ASPACER (FOR TRANSMISSION SHIFT LEVER BALL SEAT)
33556FSEAT, TRANSMISSION SHIFT LEVER BALL
33556HSHIM (FOR TRANSMISSION SHIFT LEVER BALL SEAT)
33575RETAINER, CONTROL SHIFT LEVER (FOR FLOOR SHIFT)
33575ABUSH, NO.1 (FOR CONTROL SHIFT LEVER RETAINER)
33575BBUSH, NO.2 (FOR CONTROL SHIFT LEVER RETAINER)
33593FHOLDER, SPRING (FOR FLOOR SHIFT)
33618SUPPORT, SELECTING BELLCRANK, NO.1
33618ABOLT (FOR SELECTING BELLCRANK SUPPORT)
33695BCOVER, SELECTING SPRING (FOR FLOOR SHIFT)
9011906047
main90119-06047
9017908054
main90179-08054
9111150608
main91111-50608
9166540830
main91665-40830
9324954008
main93249-54008
9356054008
main93560-54008
9451100400
main94511-00400
9451100600
main94511-00600
9461210601
main94612-10601
28 parts on this diagram · 4 diagrams in section