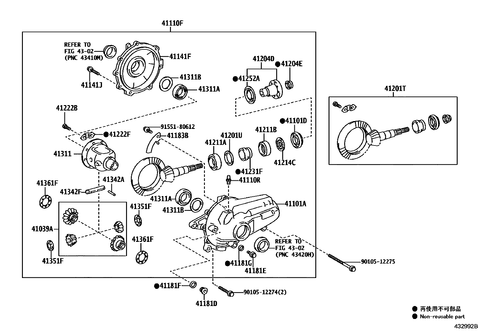
FRONT AXLE HOUSING & DIFFERENTIAL

41039AGEAR KIT, DIFFERENTIAL
41101ACARRIER SUB-ASSY, DIFFERENTIAL, FRONT
41101DSEAL, OIL (FOR FRONT DIFFERENTIAL CARRIER)
41110FCARRIER ASSY, DIFFERENTIAL, FRONT
41110RPLUG, BREATHER (FOR FRONT DIFFERENTIAL)
41141FRETAINER, FRONT DIFFERENTIAL SIDE BEARING
41141JBOLT(FOR FRONT DIFFERENTIAL SIDE BEARING RETAINER)
41181DPLUG (FOR FRONT DIFFERENTIAL FILLER)
41181EPLUG (FOR FRONT DIFFERENTIAL DRAIN)
41181FGASKET (FOR FRONT DIFFERENTIAL FILLER PLUG)
41181GGASKET (FOR FRONT DIFFERENTIAL DRAIN PLUG)
41183BDEFLECTOR, FRONT DIFFERENTIAL SIDE BEARING RETAINER
41201TFINAL GEAR KIT, DIFFERENTIAL, FRONT
41201USHIM (FOR FRONT DIFF DRIVE PINION SPACER FRONT ADJUST)
41204DFLANGE SUB-ASSY, FRONT DRIVE PINION COMPANION, FRONT
41204ENUT (FOR FRONT DRIVE PINION COMPANION FLANGE FRONT)
41211ABEARING, TAPERED ROLLER (FOR FRONT DRIVE PINION FRONT)
41211BBEARING, TAPERED ROLLER (FOR FRONT DRIVE PINION REAR)
41214CSLINGER, FRONT DIFFERENTIAL DRIVE PINION OIL
41222BBOLT (FOR FRONT DIFFERENTIAL RING GEAR SET)
41222FPLATE, FORNT DIFFERENTIAL RING GEAR SET BOLT LOCK
41231FSPACER, FRONT DIFFERENTIAL DRIVE PINION BEARING
41252ADEFLECTOR, DUST (FOR FRONT DIFFERENTIAL)
41311CASE, FRONT DIFFERENTIAL
41311ABEARING (FOR FRONT DIFFERENTIAL CASE)
41311BWASHER, PLATE (FOR FRONT DIFFERENTIAL CASE)
41342APIN, STRAIGHT (FOR FRONT DIFFERENTIAL PINION SHAFT)
41342FSHAFT, FRONT DIFFERENTIAL PINION, NO.1
41351FWASHER, FRONT DIFFERENTIAL PINION THRUST
41361FWASHER, FRONT DIFFERENTIAL SIDE GEAR THRUST, NO.1
4302FRONT DRIVE SHAFT
9010512274
main90105-12274
9010512275
main90105-12275
9155180612
main91551-80612
34 parts on this diagram · 2 diagrams in section