E
EPC Data

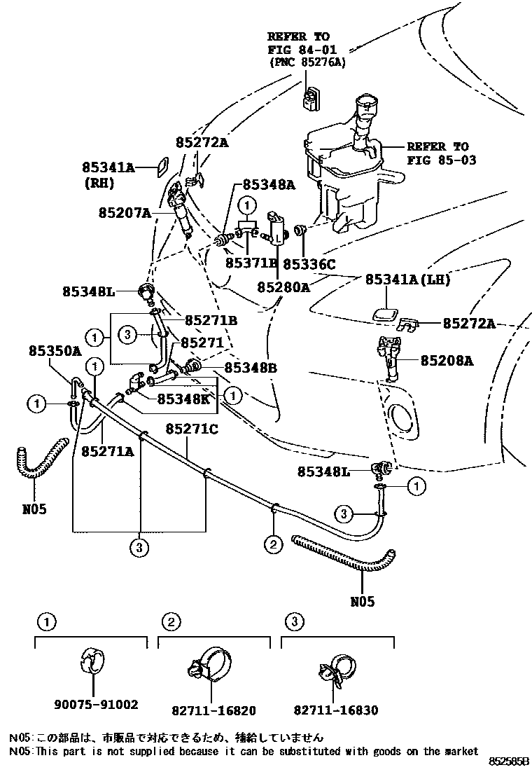
HEADLAMP CLEANER

Parts diagram
8401SWITCH & RELAY & COMPUTER
8503WINDSHIELD WASHER
85207AACTUATOR SUB-ASSY, HEADLAMP WASHER, RH
main85207-76010i201012-201312
main85207-76020i201312-201708
main85207-76030i201708
85208AACTUATOR SUB-ASSY, HEADLAMP WASHER, LH
main85208-76010i201012-201312
main85208-76020i201312-201708
main85208-76030i201708
85271HOSE, HEADLAMP CLEANER, NO.1
main90075-15053i201312-201708
85271AHOSE, HEADLAMP CLEANER, NO.2
main90075-15069i201012-201312
main90075-15095i201312-201708
85271BHOSE, HEADLAMP CLEANER, NO.3
main90075-15058i201012-201312
main90075-15062i201708
85271CHOSE, HEADLAMP CLEANER, NO.4
main90075-15087i201012-201312
main90075-15090i201708
85272ACLAMP, HEADLAMP CLEANER, NO.1
main85272-28030×2i201012-201312
main85272-75050×2i201708
85280AMOTOR AND PUMP ASSY, HEADLAMP CLEANER
main85280-47010i201012-201208
85336CPACKING, HEADLAMP CLEANER MOTOR
main90099-32089i201012-201208
85341ACOVER,HEADLAMP CLEANER WASHER NOZZLE
main85353-76010-A0i201012-201312
main85353-76010-A1i201208-201312
main85353-76010-B0i201012-201208
main85353-76010-B1i201108-201312
main85353-76010-B2i201012-201111
main85353-76010-B3i201208-201312
main85353-76010-C0i201012-201312
main85353-76010-C1i201012-201312
main85353-76010-C2i201210-201312
main85353-76010-D0i201012-201312
main85353-76010-E0i201012-201312
main85353-76010-F0i201012-201312
main85353-76010-J0i201012-201312
main85353-76010-J1i201012-201208
main85353-76020-A0i201312-201508
main85353-76020-A1i201312-201708
main85353-76020-A2i201408-201708
main85353-76020-B0i201708
main85353-76020-B1i201312-201606
main85353-76020-B2i201708
main85353-76020-C0i201312-201708
main85353-76020-C1i201312-201508
main85353-76020-C3i201508-201708
main85353-76020-D1i201312-201708
main85353-76020-D2i201708
main85353-76020-E0i201312-201606
main85353-76020-E1i201606-201708
main85353-76020-E2i201708-202008
main85353-76020-E3i202008
main85353-76020-F0i201312-201508
main85353-76020-G0i202008
main85353-76020-J0i201312-201606
main85353-76020-J1i201708
main85353-76020-J2i201708-202008
main85353-76020-J3i201708
main85353-76020-J4i202008
main85354-76010-A0i201012-201312
main85354-76010-A1i201208-201312
main85354-76010-B0i201012-201208
main85354-76010-B1i201108-201312
main85354-76010-B2i201012-201111
main85354-76010-B3i201208-201312
main85354-76010-C0i201012-201312
main85354-76010-C1i201012-201312
main85354-76010-C2i201210-201312
main85354-76010-D0i201012-201312
main85354-76010-E0i201012-201312
main85354-76010-F0i201012-201312
main85354-76010-J0i201012-201312
main85354-76010-J1i201012-201208
main85354-76020-A0i201312-201508
main85354-76020-A1i201708
main85354-76020-A2i201408-201708
main85354-76020-B0i201312-201708
main85354-76020-B1i201312-201606
main85354-76020-B2i201408-201708
main85354-76020-C0i201708
main85354-76020-C1i201312-201508
main85354-76020-C3i201708
main85354-76020-D1i201708
main85354-76020-D2i201312-201708
main85354-76020-E0i201312-201606
main85354-76020-E1i201708-202008
main85354-76020-E2i201708-202008
main85354-76020-E3i202008
main85354-76020-F0i201312-201508
main85354-76020-G0i202008
main85354-76020-J0i201312-201606
main85354-76020-J1i201708
main85354-76020-J2i201708-202008
main85354-76020-J3i201708
main85354-76020-J4i202008
85348AJOINT, HEADLAMP CLEANER HOSE, NO.1
main90075-17002i201012-201208
main90075-17012i201312-201708
85348BJOINT, HEADLAMP CLEANER HOSE, NO.2
main90075-17005i201012-201312
85348KJOINT, HEADLAMP CLEANER ELBOW, NO.1
main90075-17007i201012-201312
main90075-17010i201312-201708
85348LJOINT, HEADLAMP CLEANER ELBOW, NO.2
main90075-17001×2i201012-201312
main90075-17011×3i201312-201708
85350AJOINT, HEADLAMP CLEANER ELBOW, NO.3
main90075-17004i201012-201312
main90075-17013×2i201312-201708
85371BHOSE, HEADLAMP CLEANER (FROM MOTOR TO JOINT)
main90075-15059i201012-201208
8271116820WIRE, FUSE TO FUSE(FOR COMBUSTION HEATER)
8271116830WIRE, FUSE TO FUSE(FOR COMBUSTION HEATER)
9007591002

21 parts on this diagram · 2 diagrams in section

HEADLAMP CLEANER — Toyota Parts Diagram with OEM Numbers & Prices | EPC Data