E
EPC Data

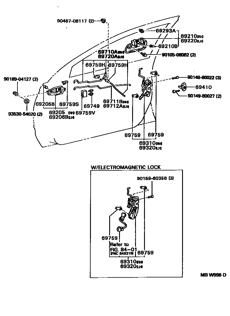
FRONT DOOR LOCK & HANDLE

Parts diagram
69205HANDLE SUB-ASSY, FRONT DOOR INSIDE, RH
main69205-20120-B1i199208-199608
SHADOW GRAY,TRIM1#
main69205-20120-E0i199208-199408
DARK ROSE,TRIM4#
main69205-20120-E1i199408-199608
ANTELOPE,TRIM4#
69205BCUSHION(FOR FRONT DOOR INSIDE HANDLE)
main90541-04014i199208-199608
69206BHANDLE SUB-ASSY, FRONT DOOR INSIDE, LH
main69206-20120-B1i199208-199608
SHADOW GRAY,TRIM1#
main69206-20120-E0i199208-199408
DARK ROSE,TRIM4#
main69206-20120-E1i199408-199608
ANTELOPE,TRIM4#
69210HANDLE ASSY, FRONT DOOR, OUTSIDE RH
main69210-20270i199208-199608
main69210-20280-A0i199304-199408
main69210-20280-A0i199305-199307
main69210-20280-A0i199308-199408
main69210-20280-A0i199408-199608
main69210-20280-A0i199208-199608
SUPER WHITE 2,040
main69210-20280-A0i199412-199608
main69210-20280-B0i199412-199608
main69210-20280-B0i199308-199408
main69210-20280-B0i199408-199608
main69210-20280-B0i199304-199408
main69210-20280-B0i199208-199608
DARK BLUEISH GRAY ME,183
main69210-20280-B0i199305-199307
main69210-20280-C0i199408-199608
main69210-20280-C0i199412-199608
main69210-20280-C0i199408-199608
BLACK ME,205
main69210-20280-D2i199308-199408
main69210-20280-D2i199408-199608
main69210-20280-D2i199412-199608
main69210-20280-D2i199208-199608
WINE RED MICA,3J8
main69210-20280-D2i199305-199307
main69210-20280-D2i199304-199408
main69210-20280-D3i199208-199408
LIGHT BEIGE ME,3K9
main69210-20280-D3i199308-199408
main69210-20280-F0i199412-199608
main69210-20280-F0i199305-199307
main69210-20280-F0i199304-199408
main69210-20280-F0i199308-199408
main69210-20280-F0i199408-199608
main69210-20280-F0i199208-199608
PALE YELLOW OPAL,574
main69210-20280-G1i199208-199408
DK.MOSS GREEN MICA M,6M4
main69210-20280-G1i199308-199408
main69210-20280-G4i199604-199608
main69210-20280-G4i199604-199608
DK GREEN MICA,6M1
main69210-20280-H1i199208-199408
MEDIUM TORQUOISE ME,749
main69210-20280-H1i199308-199408
main69210-20280-J2i199408-199608
main69210-20280-J2i199412-199608
main69210-20280-J2i199408-199608
DK.BLUE MM,8G5
69210BCUSHION(FOR FRONT DOOR OUTSIDE HANDLE)
main90541-04018i199208-199608
69220HANDLE ASSY, FRONT DOOR OUTSIDE, LH
main69220-20270i199208-199608
main69220-20280-A0i199208-199608
SUPER WHITE 2,040
main69220-20280-A0i199412-199608
main69220-20280-A0i199305-199307
main69220-20280-A0i199408-199608
main69220-20280-A0i199304-199408
main69220-20280-A0i199308-199408
main69220-20280-B0i199408-199608
main69220-20280-B0i199305-199307
main69220-20280-B0i199304-199408
main69220-20280-B0i199308-199408
main69220-20280-B0i199208-199608
DARK BLUEISH GRAY ME,183
main69220-20280-B0i199412-199608
main69220-20280-C0i199412-199608
main69220-20280-C0i199408-199608
main69220-20280-C0i199408-199608
BLACK ME,205
main69220-20280-D2i199408-199608
main69220-20280-D2i199304-199408
main69220-20280-D2i199208-199608
WINE RED MICA,3J8
main69220-20280-D2i199412-199608
main69220-20280-D2i199305-199307
main69220-20280-D2i199308-199408
main69220-20280-D3i199308-199408
main69220-20280-D3i199208-199408
LIGHT BEIGE ME,3K9
main69220-20280-F0i199304-199408
main69220-20280-F0i199305-199307
main69220-20280-F0i199308-199408
main69220-20280-F0i199408-199608
main69220-20280-F0i199412-199608
main69220-20280-F0i199208-199608
PALE YELLOW OPAL,574
main69220-20280-G1i199208-199408
DK.MOSS GREEN MICA M,6M4
main69220-20280-G1i199308-199408
main69220-20280-G4i199604-199608
main69220-20280-G4i199604-199608
DK GREEN MICA,6M1
main69220-20280-H1i199308-199408
main69220-20280-H1i199208-199408
MEDIUM TORQUOISE ME,749
main69220-20280-J2i199408-199608
main69220-20280-J2i199408-199608
DK.BLUE MM,8G5
main69220-20280-J2i199412-199608
69293ASNAP, FRONT DOOR OUTSIDE HANDLE
main69293-12030i199208-199608
main69293-12040i199208-199608
69310LOCK ASSY, FRONT DOOR, RH
main69030-20530i199412-199608
main69030-20530i199308-199408
main69030-20530i199208-199608
main69310-20670i199208-199608
69320LOCK ASSY, FRONT DOOR, LH
main69040-20570i199208-199608
main69040-20570i199412-199608
main69040-20570i199308-199408
main69040-20580i199208-199608
main69320-20660i199208-199608
69410PLATE ASSY, FRONT DOOR LOCK STRIKER
main69410-87001i199208-199608
69710ALEVER ASSY, FRONT DOOR LOCK CONTROL, RH
main69710-20070i199208-199608
69711BLINK, FRONT DOOR LOCK REMOTE CONTROL, RH
main69701-20060i199208-199608
69712ALINK, FRONT DOOR LOCK REMOTE CONTROL, LH
main69702-20060i199208-199608
69720ALEVER ASSY, FRONT DOOR LOCK CONTROL, LH
main69720-20070i199208-199608
69749CLAMP, FRONT DOOR LOCK LINK
main69749-32030i199208-199608
69759SNAP, DOOR LOCK CONTROL LINK, NO.1
main69759-24010i199208-199608
RH,NATURAL
main69759-24020i199208-199608
LH,BLUE
main69759-24050i199208-199608
LH,GREEN
main69759-24050i199208-199408
LH.GREEN
main69759-24060i199208-199608
RH,GRAY
69759HSNAP, DOOR LOCK CONTROL LINK, NO.2
main69759-20380i199208-199608
main69759-24030i199208-199608
69759SSNAP, FRONT DOOR INSIDE HANDLE
main69759-14050i199408-199608
PINK
main69759-14050i199208-199408
main69759-24070i199408-199608
main69759-24070i199208-199408
69759VSILENCER, FRONT DOOR LOCK LINK
main69759-12060i199208-199608
8401
9010506082
9014860022
9014980027
9015960356
9018904127
9046708117
9353054020

27 parts on this diagram · 1 diagram in section

FRONT DOOR LOCK & HANDLE — Toyota Parts Diagram with OEM Numbers & Prices | EPC Data