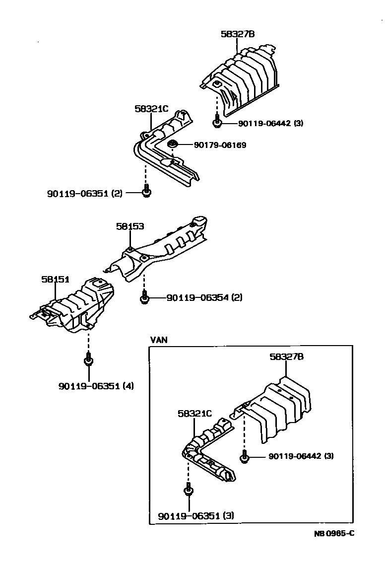
FLOOR INSULATOR

58151INSULATOR, FRONT FLOOR HEAT, NO.1
58153INSULATOR, FRONT FLOOR HEAT, NO.2
58321CINSULATOR, REAR FLOOR HEAT, FRONT
58327BINSULATOR, MAIN MUFFLER HEAT
9011906351
main90119-06351
9011906354
main90119-06354
9011906442
main90119-06442
9017906169
main90179-06169
8 parts on this diagram · 2 diagrams in section