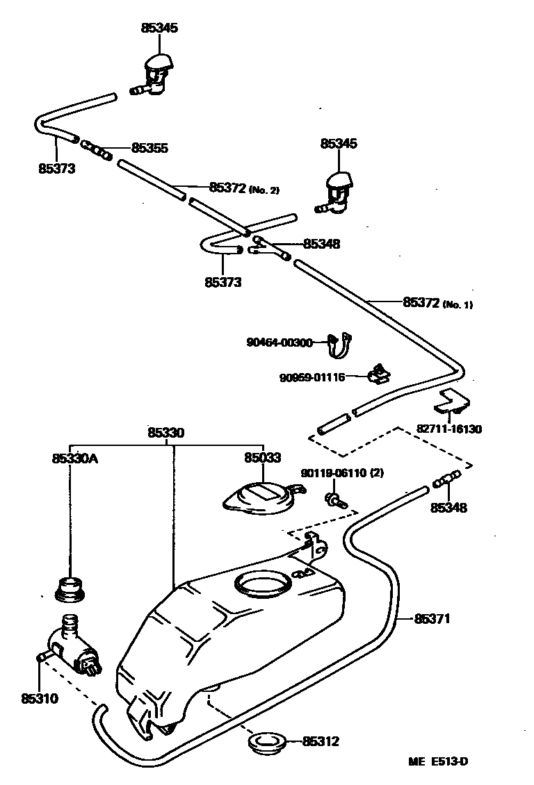
WINDSHIELD WASHER

85033CAP ASSY, WINDSHIELD WASHER
85310MOTOR AND PUMP ASSY, WINDSHIELD WASHER
85312PACKING, WINDSHIELD WASHER TANK
85330ABUSH, WINDSHIELD WASHER JAR
85345NOZZLE, WINDSHIELD WASHER
85348JOINT, WINDSHIELD WASHER HOSE, NO.1
3-WAY
2-WAY
2-WAY
85355VALVE, WINDSHIELD WASHER HOSE
85371HOSE, WINDSHIELD WASHER (FROM MOTOR TO JOINT)
85372HOSE, WINDSHIELD WASHER (FROM JOINT TO JOINT), NO.1
85373HOSE, WINDSHIELD WASHER (FROM JOINT TO NOZZLE)
8271116130WIRE, FUSE TO FUSE(FOR COMBUSTION HEATER)
main82711-16130
9011906110
main90119-06110
9046400300
main90464-00300
9095901116
main90959-01116
15 parts on this diagram · 1 diagram in section